3-Terminal Power Outlet Socket (12V, SAE)
IMPORTANT: When electrical consumers with high current draw
are operated and multi-outlet power strips are used, the maximum permitted
current load of the supply circuit must not be exceeded. Remember,
total load comprises the sum of all the current consumers connected
to the on-board circuit at any one time. This also applies if the
consumers are connected to the on-board circuit at different sockets.
(A) — 3-terminal power outlet socket
(12V, SAE)

LX314977-UN-02AUG17
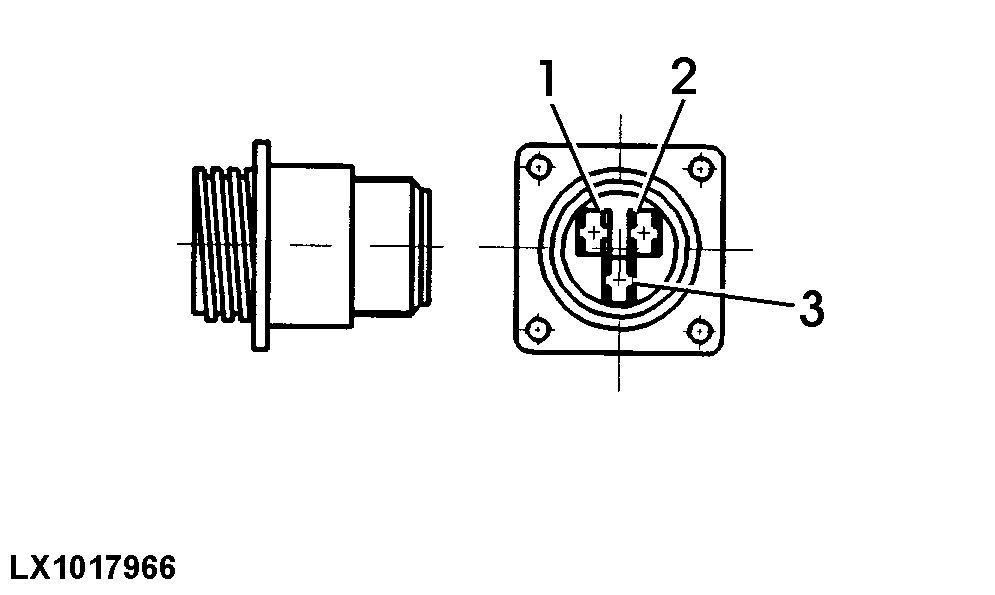
3-Terminal Power Outlet Socket (SAE)

LX1017966-UN-12JAN98
3-Terminal Power Outlet Socket (SAE)
|
Terminal ..............
|
1
|
2
|
3
|
|
Protected ..............
|
30 A
max. continuous: 25 A
|
30 A
max. continuous: 25 A
|
Ground
|
|
Power at 12 V ..............
|
max. 300 W
|
max. 300 W
|
—
|
|
Active ..............
|
Ignition ON
|
Permanent plus
|
—
|
3-terminal power outlet socket strip (12V,
SAE) between door and switch console

LX1056662-UN-02JUL12
3-Terminal Power Outlet Socket Strip

LX1053949-UN-15JUL11
|
Terminal ..............
|
A
|
B
|
C
|
|
Protected ..............
|
30 A
max. continuous: 25 A
|
Ground
|
30 A
max. continuous: 25 A
|
|
Power at 12 V ..............
|
max. 300 W
|
—
|
max. 300 W
|
|
Active ..............
|
Permanent plus
|
—
|
Ignition ON
|
|
|
OULXA64,NA,000452C-19-20190906
|
|