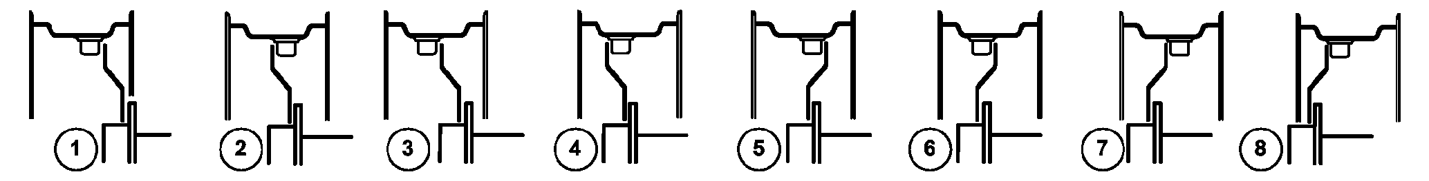
Two-Piece Front Axle — Tread Widths for Front Wheels with
Rims for 8 Positions

LX1057502-UN-26MAY15
Two-Piece Front Axle
IMPORTANT: Comply with instructions on front-wheel tread adjustment
with rims for 8 positions.
IMPORTANT: The following tables apply only for wheels that have
standard rims. Non-standard rims may be pressed in to different depths.
In consequence, the values shown in the tables will NOT be valid.
IMPORTANT: After setting the tread, the fender and the steering
stop need to be adjusted. Afterwards oscillate the front axle with
fully turned steering. If the wheels or fenders contact tractor components,
correct the steering stop. See “Two-Piece Front
Axle — Adjust the Pivoting Fenders and Steering Stop - Front
Axle 730, 733 and 735” and “Preventing Front Wheel or
Fender Contact with Tractor Components” in this Section.
NOTE: In certain countries, overall vehicle width for driving
on public roads must not exceed 2.55 m (100 in.).

LX1053401-UN-15AUG13
| |
|
Tread width on delivery
|
Front wheel tread widths
Arrangement of rim and wheel dish
|
|
Tires:
|
|
1
|
2
|
3
|
4
|
5
|
6
|
7
|
8
|
|
|
13.6R24
|
mm
|
1716
|
2022
|
1920
|
1818
|
1716
|
1622
|
1520
|
1418
|
—**
|
|
in.
|
67.56
|
79.61
|
75.59
|
71.57
|
67.56
|
63.86
|
59.84
|
55.83
|
|
|
13.6R28
|
mm
|
1714
|
2022
|
1918
|
1818
|
1714
|
1622
|
1518
|
1418
|
—**
|
|
in.
|
67.48
|
79.61
|
75.51
|
71.57
|
67.48
|
63.86
|
59.76
|
55.83
|
|
|
14.9R24
|
mm
|
1716
|
2022
|
1920
|
1818
|
1716
|
1622
|
1520
|
—**
|
—**
|
|
in.
|
67.56
|
79.61
|
75.59
|
71.57
|
67.56
|
63.86
|
59.84
|
|
|
14.9R28
|
mm
|
1714
|
2022
|
1918
|
1818
|
1714
|
1622
|
1518
|
—**
|
—**
|
|
in.
|
67.48
|
79.61
|
75.51
|
71.57
|
67.48
|
63.86
|
59.76
|
|
|
16.9R24
|
mm
|
1718
|
2016
|
1914
|
1820
|
1718
|
1616
|
—**
|
—**
|
—**
|
|
in.
|
67.64
|
79.37
|
75.35
|
71.65
|
67.64
|
63.62
|
|
|
320/85R24
|
mm
|
1736
|
2042
|
1940
|
1838
|
1736
|
1642
|
1540
|
1438
|
1336
|
|
in.
|
68.35
|
80.39
|
76.38
|
72.36
|
68.35
|
64.65
|
60.63
|
56.61
|
52.60
|
|
|
320/85R28
|
mm
|
1736
|
2044
|
1940
|
1840
|
1736
|
1644
|
1540
|
1440
|
—**
|
|
in.
|
68.35
|
80.47
|
76.38
|
72.44
|
68.35
|
64.72
|
60.63
|
56.69
|
|
|
340/85R24
|
mm
|
1736
|
2042
|
1940
|
1838
|
1736
|
1642
|
1540
|
1438
|
—**
|
|
in.
|
68.35
|
80.39
|
76.38
|
72.36
|
68.35
|
64.65
|
60.63
|
56.61
|
|
|
340/85R28
|
mm
|
1736
|
2044
|
1940
|
1840
|
1736
|
1644
|
1540
|
1440
|
—**
|
|
in.
|
68.35
|
80.47
|
76.38
|
72.44
|
68.35
|
64.72
|
60.63
|
56.69
|
|
|
360/70R24
|
mm
|
1716
|
2022
|
1920
|
1818
|
1716
|
1622
|
1520
|
1418
|
1316
|
|
in.
|
67.56
|
79.61
|
75.59
|
71.57
|
67.56
|
63.86
|
59.84
|
55.83
|
51.81
|
|
|
380/70R24
|
mm
|
1716
|
2022
|
1920
|
1818
|
1716
|
1622
|
1520
|
1418
|
—**
|
|
in.
|
67.56
|
79.61
|
75.59
|
71.57
|
67.56
|
63.86
|
59.84
|
55.83
|
|
|
380/70R28
|
mm
|
1714
|
2022
|
1918
|
1818
|
1714
|
1622
|
1518
|
—**
|
—**
|
|
in.
|
67.48
|
79.61
|
75.51
|
71.57
|
67.48
|
63.86
|
59.76
|
|
|
380/85R24
|
mm
|
1736
|
2042
|
1940
|
1838
|
1736
|
1642
|
1540
|
1438
|
—**
|
|
in.
|
68.35
|
80.39
|
76.38
|
72.36
|
68.35
|
64.65
|
60.63
|
56.61
|
|
|
380/85R28
|
mm
|
1736
|
2044
|
1940
|
1840
|
1736
|
1644
|
1540
|
—**
|
—**
|
|
in.
|
68.35
|
80.47
|
76.38
|
72.44
|
68.35
|
64.72
|
60.63
|
|
|
420/70R24
|
mm
|
1716
|
2022
|
1920
|
1818
|
1716
|
1622
|
1520
|
—**
|
—**
|
|
in.
|
67.56
|
79.61
|
75.59
|
71.57
|
67.56
|
63.86
|
59.84
|
|
|
420/70R28
|
mm
|
1714
|
2022
|
1918
|
1818
|
1714
|
1622
|
1518
|
—**
|
—**
|
|
in.
|
67.48
|
79.61
|
75.51
|
71.57
|
67.48
|
63.86
|
59.76
|
|
|
420/85R24
|
mm
|
1736
|
2042
|
1940
|
1838
|
1736
|
1642
|
1540
|
—**
|
—**
|
|
in.
|
68.35
|
80.39
|
76.38
|
72.36
|
68.35
|
64.65
|
60.63
|
|
|
440/65R24
|
mm
|
1720
|
2018
|
1916
|
1822
|
1720
|
1618
|
1516
|
—**
|
—**
|
|
in.
|
67.72
|
79.45
|
75.43
|
71.73
|
67.72
|
63.70
|
59.68
|
|
|
480/65R24
|
mm
|
1720
|
2018*
|
1916
|
1822
|
1720
|
1618
|
1516
|
—**
|
—**
|
|
in.
|
67.72
|
79.45*
|
75.43
|
71.73
|
67.72
|
63.70
|
59.68
|
|
|
480/65R28
|
mm
|
1714
|
2022*
|
1918
|
1818
|
1714
|
1622
|
—**
|
—**
|
—**
|
|
in.
|
67.48
|
79.61**
|
75.51
|
71.57
|
67.48
|
63.86
|
|
|
480/70R24
|
mm
|
1718
|
2016*
|
1914
|
1820
|
1718
|
1616
|
—**
|
—**
|
—**
|
|
in.
|
67.64
|
79.37*
|
75.35
|
71.65
|
67.64
|
63.62
|
|
|
540/65R24
|
mm
|
1718
|
2016*
|
1914
|
1820
|
1718
|
—**
|
—**
|
—**
|
—**
|
|
in.
|
67.64
|
79.37*
|
75.35
|
71.65
|
67.64
|
|
* Total vehicle width greater than 2,55 m; the regional road
traffic licensing regulations must be observed.
** Installation in this position is not allowed
|
|
|
OULXA64,0003B8B-19-20160517
|
|