Tartózkodjon távol a forgó tengelyektől

TS1644-UN-22AUG95

H96219-UN-29APR10
Forgó hajtásba akadva súlyos vagy halálos baleset történhet.
Mindig tartsa a helyén a traktor védőburkolatait és a hajtótengely
burkolatát. Győződjön meg arról, hogy a hajtótengelyek burkolata szabadon
el tud-e fordulni.
Csak megfelelő burkolatokkal és védőelemekkel felszerelt TLT
tengelyeket használjon.
Viseljen mindig zárt ruházatot. Mielőtt beállítást végezne a
gépen, csatlakoztatná azt, vagy a TLT-hajtású munkagép tisztításához
fogna, állítsa le a motort, és győződjön meg róla, hogy a TLT hajtótengely
megállt.
Ne szereljen fel semmilyen adapter készülék a traktor és az
elsődleges TLT közé, mely lehetővé teszi, hogy az 1000 f/p fordulatszámú
traktor tengely az 540 f/p fordulatszámú munkaeszközt 540 f/p feletti
fordulatszámmal engedi hajtani.
Ne szereljen fel semmilyen adaptert, amely azt eredményezné,
hogy a forgó munkaeszköz tengelye, a traktor tengelye vagy az adapter
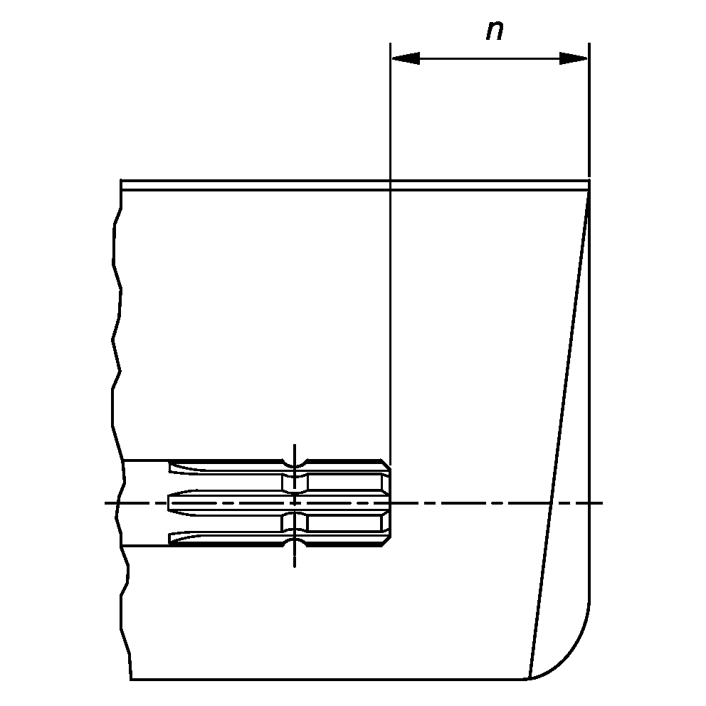
részben fedetlen maradna. A traktor védőburkolatnak fedésben kell
lennie a bordás tengelycsonk végével és a felszerelt adapterrel a
táblázatban megadottak szerint.
Az elsődleges munkaeszköz TLT lehajlási szöge csökkenthető a
traktor fő burkolatának alakjától és méretétől valamint az elsődleges
munkaeszköz TLT védőburkolatának méretétől és alakjától függően.
Ne emelje fel a munkaeszközöket olyan magasra, hogy a traktor
fő burkolata vagy az elsődleges munkaeszköz TLT védőburkolata sérülhessen.
Csatlakoztassa a TLT-t, ha a munkaeszköz magasságát növelni kell.
(lásd: TLT csatlakoztatása/lecsatlakoztatása)
Ha a 3/4-es típusú TLT-t használja, a dőlési és fordulási szögek
csökkenthetőek a TLT fő burkolat és a csatlakozó sínek típusától függően.
|
TLT típus
|
Átmérő
|
Bordák
|
n ± 5 mm (0.20 in.)
|
|
1
|
35 mm (1,378 in.)
|
6
|
85 mm (3,35 in.)
|
|
2
|
35 mm (1,378 in.)
|
21
|
85 mm (3,35 in.)
|
|
3
|
45 mm (1,772 in.)
|
20
|
100 mm (4,00 in.)
|
|
4
|
57,5 mm (2,264 in.)
|
22
|
100 mm (4,00 in.)
|
|