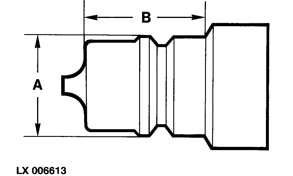
Kihelyezett vezérlő szelepek (SCV)-idomok

LX006613-UN-15AUG94
Csak ISO szabvány szerinti idomokat használjon.
Az (A) méret 23,66 és 23,74 mm (0.931 és 0.934 in.) között kell
legyen.
A (B) méret 24 mm (0,945 in.) kell legyen.
|
|
OULXA64,00026CC-35-20190220
|
|