3-pólusú elektromos áramellátás csatlakozó és elektromos elosztó
(12V, ECE)
FONTOS: Amikor magas áramfelvételű elektromos fogyasztókat
használ, és elektromos elosztót használ, nem szabad túllépni az áramellátás
kör maximális engedélyezett áramfelvételét. Meg kell jegyezni, hogy
a teljes terhelés a gép áramköreihez csatlakoztatott összes elektromos
fogyasztó összegéből adódik. Ez azokra a fogyasztókra is vonatkozik,
melyek a gép áramköreihez különböző csatlakozóaljzatokon keresztül
csatlakoznak.
(A) — 3-pólusú áramellátás csatlakozó aljzat
(12 V, ECE)

LX314954-UN-05JUL17
Hátsó panel, Jobb / Oldalsó kezelőpult, Bal

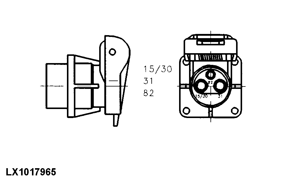
LX1017965-UN-10OCT97
3-pólusú áramellátás csatlakozó aljzat (ECE)
15/30 láb - Maximális folyamatos terhelés 25 A max. 300 W -
Folyamatos pozitív
82-es érintkező - Maximális állandó terhelés max. 5 A 60 W -
Aktiválva, amikor a gyújtás BE van kapcsolva
31. tű - Test
3-érintkezős tápcsatlakozó elosztóaljzat
(12 V, ECE) az ajtó és a kapcsolópult között. az ajtó és a kapcsoló
konzol között

LX1056662-UN-02JUL12
Hárompólusú elosztócsatlakozó

LX1053949-UN-15JUL11
"A" érintkező - A maximum állandó terhelés 25 A max. 300 W -
Állandó pozitív
"B" érintkező—Test
"C" láb- A maximális folyamatos terhelés 5 A max. 60 W - Ráadott
gyújtásnál van áram alatt
|
|
OULXA64,0004440-35-20190201
|
|