Fogasléces tengelyek, Agy átmérő 79 mm - Nyomtávok beállítása
FONTOS: A sárvédő és a gumiabroncs oldala közötti távolság
nem szabad, hogy kevesebb legyen, mint 40 mm (1,57 in)1. A gumiabroncs futófelülete (bordákkal) és a sárvédő közötti
távolság nem lehet kevesebb mint 60 mm (2,36 in)1.
Amennyiben hóláncot szerel fel az abroncsra, a szükséges legkisebb
távolság az abroncstól a sárvédőig (axiális és radiális) 100 mm (3,94
in) kell legyen.
Hátsó kerék beállítás

L102691-UN-13APR00
MEGJEGYZÉS: A kerekek beállítása csak akkor lehetséges, mikor nincs
kettőnél több keréksúly rögzítve az egyes kerekekre.
-
Tisztítsa meg a tengelyt egy drótkefével.
-
Emelje meg és bakolja alá a traktort, és forgassa meg a hátsó
kereket úgy, hogy a fogazás a tengelyen felfelé nézzen.
-
Lazítsa meg a rögzítő csavarokat.
-
Húzza meg a két kinyomó csavart annyira, hogy a csavarok feje
érintse a kerékagyat.
MEGJEGYZÉS: Ha a kerékagy nem lazul meg, úgyszintén lazítsa meg a
három csavart a kerék tárcsa hátulján. Ha ez nem működik, üssön a
tengely végére néhányszor egy nehéz kalapáccsal, és még egyszer feszítse
meg az emelő csavarokat egyenletesen. Ez segít beáztatni az agy feleket
itatós olajjal.
-
Forgassa az állítócsavart be vagy ki, amíg el nem éri a kívánt
helyzetet.
-
Nyomtáv beállítása után lazítsa meg az emelő csavarokat teljesen
ütközésig. Ne alkalmazzon erőt!
-
Kenje meg a meneteket, és húzza meg a rögzítő csavarokat váltakozva
400 Nm-re (300 lb-ft). Mikor a rögzítő csavarokat meghúzta az előírt
nyomatékra, az emelőcsavaroknak szabadon el kell fordulnia; ha nem
ez az eset, lazítsa meg az emelőcsavarokat, és húzza meg a rögzítő
csavarokat az előírt nyomatékra.
-
Miután befejezte a kerék nyomtáv beállítást, bizonyosodjon meg
róla, hogy a gumiabroncsok és a keréksúlyok nem dörzsölődnek a traktorral.
Majd hajtson a traktorral kb. 50 m-t (160 ft), állítsa le a traktort,
és húzza meg a rögzítő csavarokat 400 Nm-re (300 lb-ft). A csavarokat
újra meg kell húzni a nyomatékra 4 üzemóra után, 8 üzemóra után és
számos alkalommal a következő 100 üzemórában. Lásd a "Bejáratási periódus"
részt.
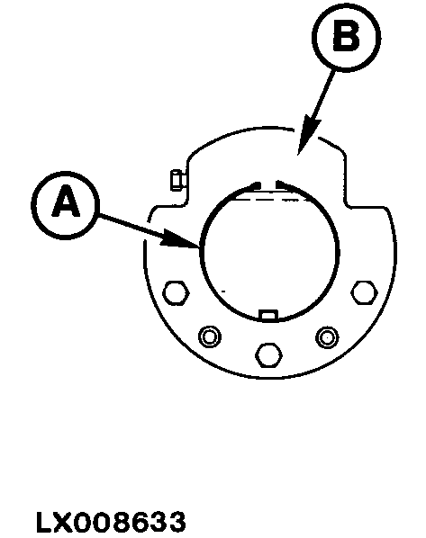
Forgassa meg a kerékagyat (belső fogazású)

LX008633-UN-16AUG94

LX008634-UN-16AUG94
A - Rögzítőgyűrű
B - Kerékagy
A kerékagy meglazításához, beállításához és meghúzásához lásd
az előző oldalt.
-
Az összeszerelés elősegítéséhez távolítsa el a hátsó kereket.
-
Távolítsa el a rögzítőgyűrűt (A). Forgassa el az állító csavart,
hogy a kerékagy (B) maximális szélességen van. Távolítsa el a kerékagyat
(B).
-
Tegye a kereket a tengelyre a kívánt helyzetbe. Fordítsa el
a kerék agyat (B), és szerelje fel azt.
-
Szerelje fel a kereket és a rögzítő gyűrűt (A). A további összeszereléshez
lásd az előző oldalt.
|
1 Csak Európa. Az Európán kívüli országokban a
javasolt minimális távolság 25 mm (1,0 in.).
|
OULXA64,0004BB7-35-20190308
|
|