Homlokrakodó rögzítő keretek 640R/643R, 660R/663R és 680R/683R
típusú rakodókhoz

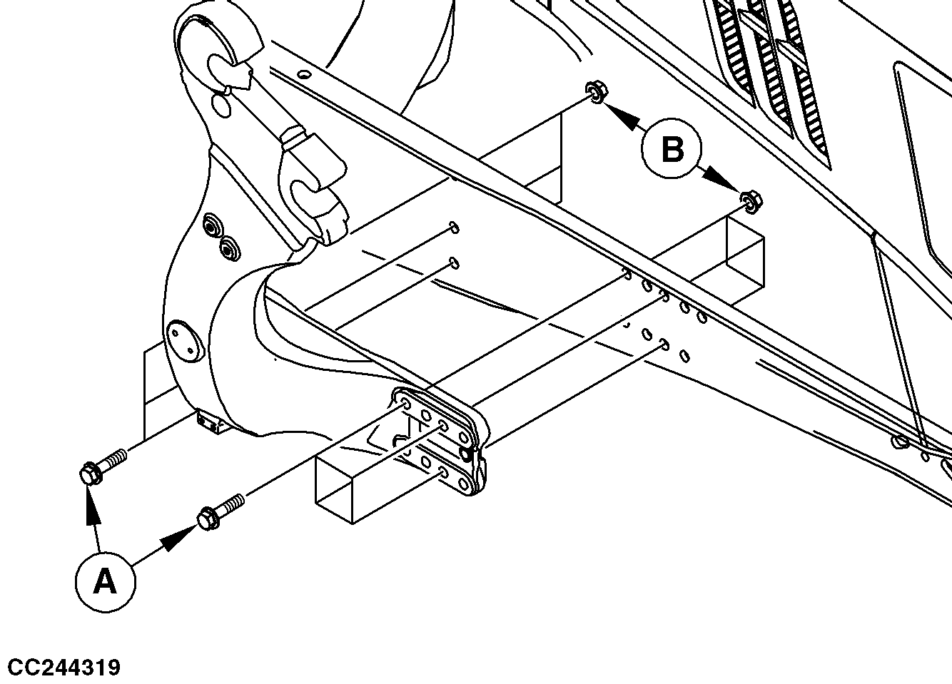
CC244319-UN-04JUN15
|
A John Deere™ homlokrakodó tartóvázához használt szerelvények
|
|
Tétel
|
Megnevezés
|
Standard
|
Méretek
|
Azonosítás / Minőség
|
Bevonat
|
|
(A)
|
Peremes csavar
|
JDS121
|
M20 x 2,5 x 80
|
10,9
|
Cink
|
|
(B)
|
Hatlapú peremes anya
|
ISO4161
|
M20 x 2,5
|
10
|
Cink
|
FONTOS: John Deere által ellenőrzött és jóváhagyott homlokrakodó
vásárolható. Amikor John Deere™ homlokrakodó rögzítő
keretet szerel fel, csak megfelelő rögzítőelemet használjon, ahogy
az a fenti ábrán látható.
Ellenőrizze rendszeres időközönként a rögzítőcsavarok meghúzási
nyomatékát. Teljesítse a homlokrakodó kezelési utasításában és szerelési
kézikönyvében foglaltakat a homlokrakodó karbantartásához.
| Tétel | Mérés | Specifikáció |
|
Peremes csavar
| Nyomaték | 620 Nm (457 lb.-ft.) |
|
|
OULXBER,0002C9A-35-20170320
|
|