Pótkocsi vonófej ellenőrzése kopásra (távműködtetésű
VIGYÁZAT: Az olyan alkatrészeket, melyek elérték vagy meghaladták
a kopási határértéküket, ki kell cserélni újakra.
Ellenőrizze a vonócsap átmérőit (a, b és c)

LX1031444-UN-23SEP03
Lapolt vonófej csapszeg

LX1039100-UN-11JUL06
Gömb vonófej csapszeg
| Tétel | Mérés | Specifikáció |
|
Lapolt vonófej csapszeg | Kopási határérték,
vagy átmérő (a) | min. 29 mm min. 1,14 in |
|
Gömb vonófej csap | Kopási határérték,
vagy átmérő (b) | min. 36,5 mm min. 1,44 in |
|
Gömb vonófej csap | Kopási határérték,
vagy átmérő (c) | min. 27 mm min. 1,06 in. |
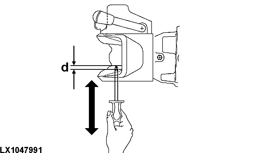
Ellenőrizze a vonócsap függőleges játékát (d).

LX1047991-UN-23SEP09
| Tétel | Mérés | Specifikáció |
|
Csap, Összekötő | Holtjáték | max. 2,5 mm max. 0,1 in. |
Ellenőrizze a fogadó furat átmérőjét (c).

LX1031443-UN-23SEP03
| Tétel | Mérés | Specifikáció |
|
Alsó fogadó furat (haladási irányba nézve) | Kopási határérték vagy átmérő | max.
34,0 mm (ovális) max. 1,33 in. (ovális) |
Ellenőrizze a kopó lemez vastagságát (e).

LX1047992-UN-23SEP09
| Tétel | Mérés | Specifikáció |
|
Kopó lemez | Anyag vastagság | min. 6 mm min. 0,24 in |
Ellenőrizze az alsó csapvezető holtjátékát.
| Tétel | Mérés | Specifikáció |
|
Csap az alsó csapvezetőben | Holtjáték | max. 2,5 mm max. 0,1 in. |
Ellenőrizze a vonócsap vagy furat kopását.
| Tétel | Mérés | Specifikáció |
|
Vonócsap és furat | Kopás | max. 1,5 mm max. 0,06 in. |
Határozza meg a pótkocsi vonóószerkezet és a fogadó közötti
holtjátékot (f).

LX1048787-UN-09DEC09
| Tétel | Mérés | Specifikáció |
|
Pótkocsi vonószerkezet és fogadó | Holtjáték | max. 3,0 mm max. 0,12 in. |
|
|
OULXBER,0002D24-35-20180417
|
|