Rozchod kolies pre zadné kolesá s ráfikmi pre 2 pol. – Náprava
s hrebeňovou tyčou a pastorkom, priemer náboja 86 mm (6145M)
DÔLEŽITÉ: Dodržujte pokyny pre nastavenie rozchodu kolies a
utiahnite skrutky kolies. Pozri Poznámky týkajúce
sa zadných kolies – Nápravy s hrebeňovou tyčou a pastorkom, priemer
náboja 86 mm.
DÔLEŽITÉ: Po nastavení rozchodu skontrolujte, či sa kolesá
voľne otáčajú. ZABRÁŇTE tomu, aby sa pneumatiky dostali
do kontaktu s ramenami závesu alebo zdvíhacími vzperami. Vzdialenosť
medzi zdvíhacími vzperami a pneumatikami možno zväčšiť premiestnením
zdvíhacích vzpier do predných otvorov v ramenách závesu.
Ak sú ramená závesu zdvihnuté (aj bez pripojeného príslušenstva),
hydraulické alebo mechanické obmedzovacie tiahla musia byť zablokované.
Ak napriek týmto opatreniam stále dochádza ku kontaktu s ramenami
závesu alebo zdvíhacími vzperami, je nutné zväčšiť rozchod kolies.
POZNÁMKA: V niektorých krajinách nesmie celková šírka vozidla pri
jazde na verejných komunikáciách prekročiť 2,55 m (100 in.).

LX1056800-UN-29OCT12
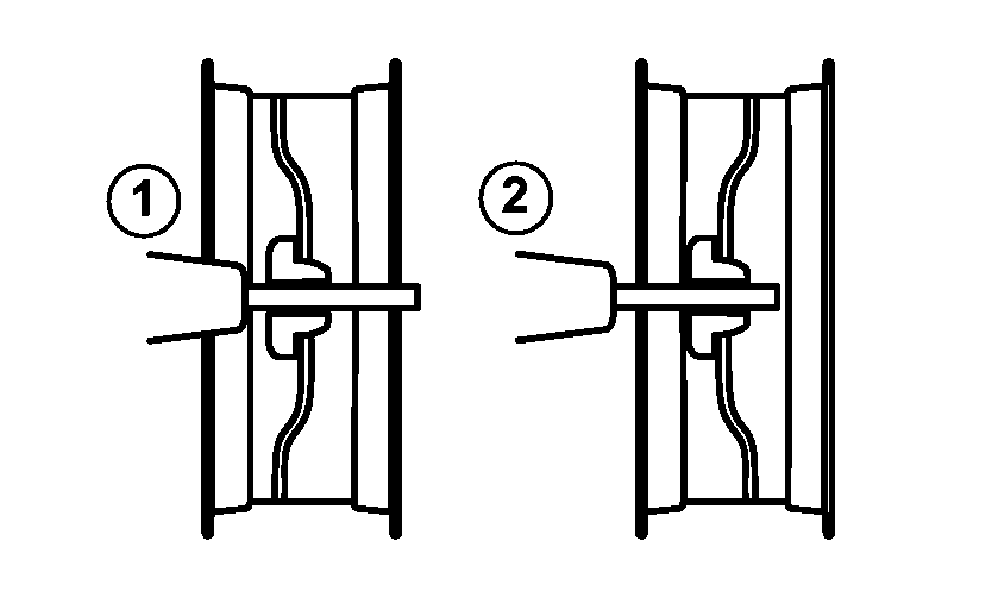
Rozchod zadných kolies – náprava s ozubenou tyčou
a pastorkom
| |
Rozchod kolies (zadné kolesá s liatinovým kolesom)
Usporiadanie ráfika a disku kolesa
|
| |
Krátke nápravy s hrebeňovou tyčou a pastorkom
|
|
Pneumatiky:
|
|
Minimálne (1)
|
Maximálne (2)
|
|
|
20.8R38
|
cm
|
167
|
202*
|
|
in.
|
65,7
|
79,5*
|
|
|
520/70R38
|
cm
|
167
|
202*
|
|
in.
|
65,7
|
79,5*
|
|
|
520/85R38
|
cm
|
167
|
202*
|
|
in.
|
65,7
|
79,5*
|
|
|
580/70R38
|
cm
|
167
|
202*
|
|
in.
|
65,7
|
79,5*
|
|
|
600/65R38
|
cm
|
167
|
202*
|
|
in.
|
65,8
|
79,5*
|
|
|
650/65R38
|
cm
|
176
|
202*
|
|
in.
|
69,2
|
79,5*
|
|
|
* Ak je celková šírka vozidla väčšia ako 2,55 m, musia sa dodržiavať
miestne dopravné predpisy alebo iné platné predpisy.
|
| |
Rozchod kolies (zadné kolesá s oceľovým ráfikom na liatinovom
disku)
Usporiadanie ráfika a disku kolesa
|
| |
Krátke nápravy s hrebeňovou tyčou a pastorkom
|
|
Pneumatiky:
|
|
Minimálne (1)
|
Maximálne (2)
|
|
|
270/95R48
|
cm
|
169
|
226*
|
|
in.
|
66,6
|
88,9*
|
|
|
650/65R38
|
cm
|
176
|
226*
|
|
in.
|
69,2
|
88,9*
|
|
|
* Ak je celková šírka vozidla väčšia ako 2,55 m, musia sa dodržiavať
miestne dopravné predpisy alebo iné platné predpisy.
|
|
|
OULXA64,EU,0004C47-76-20190607
|
|