Using Hydraulic Spray Pumps

Follow spray pump manufacturer's recommendations for pump model selection, set-up, and operation.

NOTE: Select the smallest displacement motor recommended by the pump manufacturer for use during multiple hydraulic function operation, such as other hydraulic motors. The smaller pump will lower the total hydraulic flow demand and improve overall system performance.

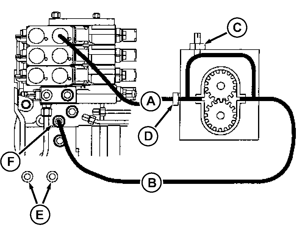
1. Connect motor pressure line (A) to retract port of SCV.

NOTE: Use of SCV 3, 4, or 5 is suggested.

2. Connect return line (B) to the motor return coupler (F).

NOTE: Combining of return flows through a single coupler may result in excessive return line pressure.

3. Select continuous detent time "C" and adjust flow setting to the minimum.

4. Activate SCV by moving the lever forward to the retract detent position and adjust hydraulic flow rate per pump manufacturer's guidelines.

5. Shut off spray pump by moving SCV control lever to the float position (full forward and down).

IMPORTANT: Some motors are not equipped with over-speed protection. Extended operation above recommended speed may cause premature failure.

RW56001A


A-Pressure Line
B-Return Line
C-Needle Valve (Closed)
D-Inlet Line Orifice (Remove)
E-Multiple Return Couplers
F-Motor Return Coupler

AG,RX15494,3088 -19-11NOV99-1/1