General Wheel, Tire, and Tread Guidelines

RW21260
RW19899

Reverse wheels on axles to provide a wider range of settings by changing rim position. Maintain correct direction of tire rotation by moving each wheel to opposite side of tractor.

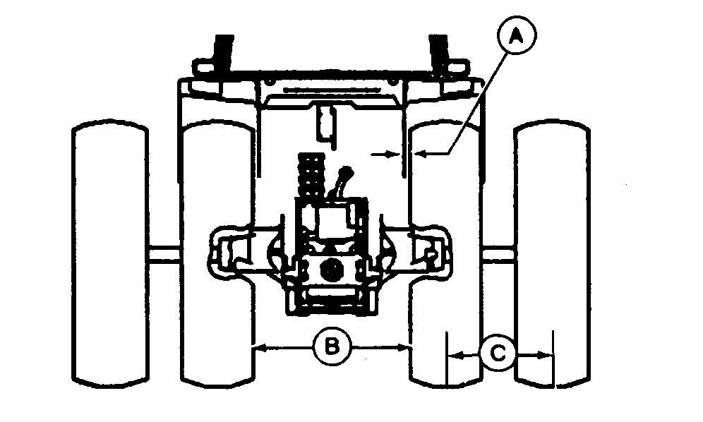
IMPORTANT: Tires must have at least 25 mm (1 in.) clearance with fenders (A). Distance between tires must be at least 1070 mm (42 in.) with tires equal distances from tractor centerline (B).

With sway blocks in upper position (sway allowed), minimum distance between tires must be 1090 mm (43 in.) to prevent interference.

Check for adequate clearance between implement rear tires. DO NOT use mix radial and bias-ply tires on same axle. Drive and dual tires mounted on the same axle should all be inflated to the same pressure.

Over inflating a radial tire reduces machine performance. Using the correct inflation pressures will result in optimum tractive performance.

Using Tubes With Tubeless Radial Tires

Inflation pressure may be set as low as 40 kPa (0.4 bar) (6 psi), if high quality (natural rubber) tubes are used. Lower quality tubes require the minimum

inflation pressure of 80 kPa (0.8 bar) (12 psi). Direct questions regarding tube quality to your tire dealer.

causym CAUTION: Prevent personal injury and tractor instability. Never operate with single tires having tread width less than 1520 mm (60 in.). Do not exceed 2800 mm (110 in.) between single tires for pulling heavy loads.

Minimum Spacing for Dual Tires (C)
Tire Section Minimum Spacing
   
14.9 480 mm (18.9 in.)
16.9 536 mm (21.1 in.)
18.4 578 mm (22.7 in.)
20.8 645 mm (25.4 in.)
320 416 mm (16.4 in.)
420 536 mm (21.1 in.)
650 779 mm (30.7 in.)

 

Suspended Front Axle

causym CAUTION: Prevent personal injury. Axle is under accumulator pressure. Securely support both sides of axle, using jack stands of sufficient capacity, before adjusting wheels. Do NOT support or lift tractor from center of axle.

Raise only one side of axle at a time and secure with a jack stand.

AG,RF30435,2430 -19-21DEC99-1/1