Rear Triple Wheel Row Crop Settings
|
|
| Normal Operation with Hitch Between the Crop Rows |
| Tire Section › mm |
320 |
380 |
480 |
| Row Spacing - cm (inch) |
50.80 (20) |
55.88 (22) |
76.20 (30) |
| Drive Wheel - inch |
80 |
88 |
60 |
| Dual Wheel - inch |
120 |
132 |
120 |
| Dual Extension (118.5-in Axle) |
7.5 mm washer |
None |
None |
| Triple Wheel - inch |
160 |
176 |
180 |
| Triple Extension (118.5-in Axle |
15 " |
15 " plus 6.4mm washer |
15" & 10" plus 7.5mm washer |
| Off Set Operation with Hitch Over the Crop Rows |
| Tire Section › mm |
320 |
380 |
|
| Row Spacing - cm (inch) |
50.80 (20) |
55.88 (22) |
|
| Drive Wheel - inch |
80 |
88 |
|
| Dual Wheel - inch |
120 |
132 |
|
| Dual Extension (118.5-in Axle) |
7.5 mm washer |
None |
|
| Triple Wheel - inch |
160 |
176 |
|
| Triple Extension (118.5-in Axle |
15 " |
15 " plus 6.4mm washer |
|
| |
|
|
|
|
|
OURX935,0000097 -19-22MAR04-1/4
|
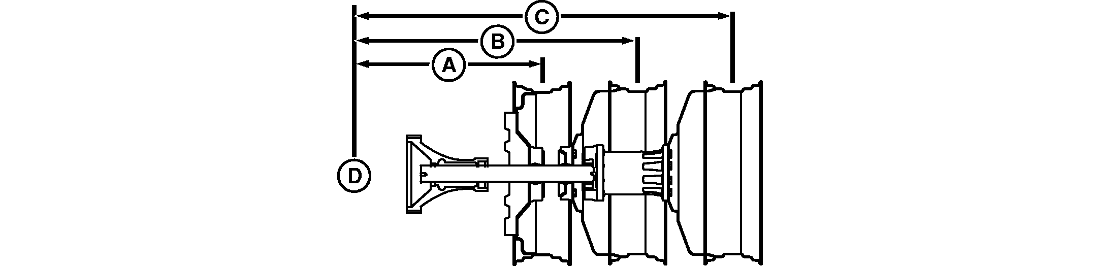
480 mm Rear Tire Triple Tread Setting
| 480 mm Rear Tires |
| Normal Operation |
Single |
Dual |
Triple |
| A |
B |
C |
|
| |
60 Inch |
120 Inch |
180 Inch |
| Tire Size |
Rim Position |
Rim Position |
Rim Position |
| 480/80R50 |
In |
Out |
Out |
| 480/80R46 |
In |
Out |
Out |
| 18.4R46 |
In |
Out |
Out |
|
|
OURX935,0000097 -19-22MAR04-2/4
|
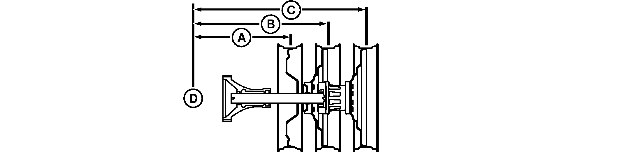
380 mm Rear Tire Triple Tread Setting
| 380/90R50 Rear Tires |
| |
Single |
Dual |
Triple |
| A |
B |
C |
|
| Normal Operation |
88 Inch |
132 Inch |
176 Inch |
| Off Set Operation |
66 Inch |
110 Inch |
154 Inch |
| Tire |
Rim Position |
Rim Position |
Rim Position |
| Normal Operation |
Out |
Out |
Out |
| Off Set Operation |
In |
Position La |
Out |
| aSee Wheel Tread settings-Sixteen Position Wheels. |
|
|
OURX935,0000097 -19-22MAR04-3/4
|
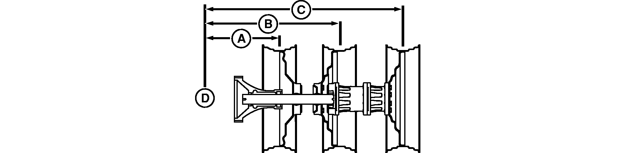
320 mm Rear Tire Triple Tread Setting
| 320/90R54 Rear Tires |
| |
Single |
Dual |
Triple |
| A |
B |
C |
|
| Normal Operation |
80 Inch |
120 Inch |
160 Inch |
| Off Set Operation |
60 Inch |
100 Inch |
140 Inch |
| Tire |
Rim Position |
Rim Position |
Rim Position |
| Normal Operation |
Out |
Postion Pa |
Position O a |
| Off Set Operation |
In |
Position L a |
Position P a |
| aSee Wheel Tread settings-Sixteen Position Wheels. |
|
|
OURX935,0000097 -19-22MAR04-4/4
|
|