Eight Position Wheel Settings

NOTE: A through H are used for all tires 540 mm (20.8 in.) or less.

NOTE: Tread settings are measured at bottom center line of tire.

Use diagram at the right to adjust rim and disk, to a desired tread setting for all tires 540 mm (20.8 in.) or less.

IMPORTANT: After setting wheel spacing, tighten rim-to-disk bolts to 310 N·m (230 lb-ft) and disk-to-hub nuts to 600 N·m (445 lb-ft).

Retighten bolts after working 3 hours and again after 10 hours.

tighten bolts daily for the first week of operation.

Adjust fenders and steering stops as required using the tables and diagrams on the following pages.

RXA0062856

Rim Settings

OURX935,00000AC -19-14SEP02-1/2


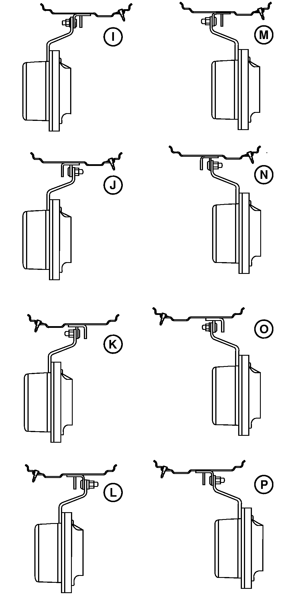
NOTE: I through P are used for 600/65R28, 600/70R30 and 620/75R30 tires.

NOTE: Tread settings are measured at bottom center line of tire.

Use diagram at the right to adjust rim and disk, to a desired tread setting for 600/65R28 and 600/70R30 tires.

IMPORTANT: After setting wheel spacing, tighten rim-to-disk bolts to 310 N·m (230 lb-ft) and disk-to-hub nuts to 600 N·m (445 lb-ft).

Retighten bolts after working 3 hours and again after 10 hours.

tighten bolts daily for the first week of operation.

Adjust fenders and steering stops as required using the tables and diagrams on the following pages.

RXA0062368

Wide Rim Settings

OURX935,00000AC -19-14SEP02-2/2