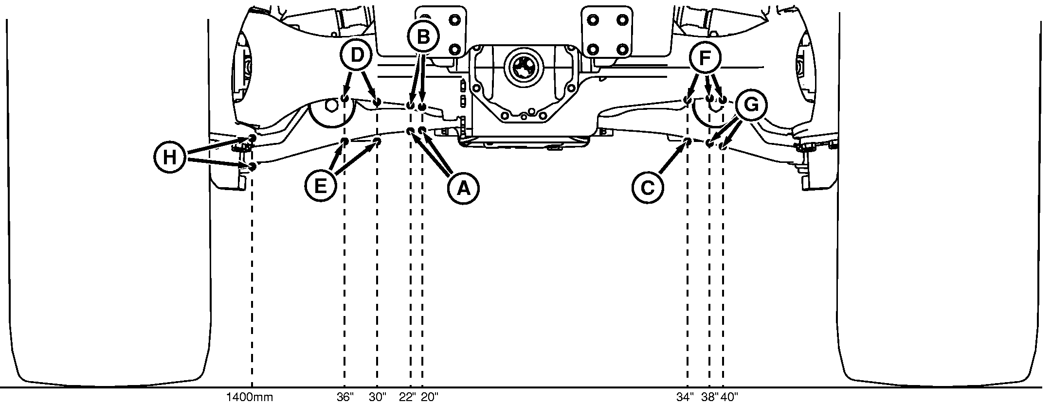
MFWD and Independent Link Suspension Ground Clearance above Row

RXA0062764


A-Independent Link Suspension 20" and 22" Row Clearance
B-MFWD 20" and 22" Row Clearance
C-Independent Link Suspension 34" Row Clearance


D-MFWD 30" and 36" Row Clearance
E-Independent Link Suspension 30" and 36" Row Clearance


F-MFWD 34", 38" and 40" Row Clearance
G-Independent Link Suspension 38" and 40" Row Clearance


H-MFWD and Independent Link Suspension 1400 mm Row Clearance

Front Axle Ground Clearance Above Row
Row Spacing Group 41 Group 42 Group 43
508 /559 mm
(20/22 in.)
MFWD 635.1 mm (25 in.) 673 mm (26.5 in.) 724 mm (28.5 in.)
508 /559 mm
(20/22 in.)
Independent Link Suspension 569.1 mm (22.4 in.) 607 mm (23.9 in.) 658 mm (25.9 in.)
762/864/914 mm
(30 /34/36 in.)
MFWD 647.7 mm (25.5 in.) 685.8 mm (27 in.) 736.6 mm (29 in.)
762/864/914 mm
(30 /34/36 in.)
Independent Link Suspension 546.1 mm (21.5 in.) 584.2 mm (23 in.) 635 mm (25 in.)
965/1016 mm (38/40 in.) MFWD 650.2 mm (25.6 in.) 688.3 mm
(27.1 in.)
739.1 mm (29.1 in.)
965/1016 mm (38/40 in.) Independent Link Suspension 546.1 mm (21.5 in.) 584.2 mm (23 in.) 635 mm (25 in.)
1400 mm (55.1 in.) MFWD 548.6 mm (21.6 in.) 586.7 mm (23.1 in.) 637.5 mm (25.1 in.)
1400 mm (55.1 in.) Independent Link Suspension 477.5 mm (18.8 in.) 515.6 mm (20.3 in.) 566.4 mm (22.3 in.)

 

OURX935,00000C7 -19-27SEP02-1/1