Observing Drawbar Load Limitations

RXA0075453


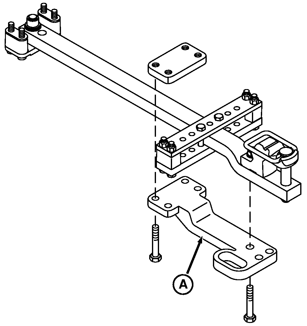
A-Drawbar
B-Locking Bolts


C-Dimension
D-Short Position


E-Long Position


F-PTO Shaft

IMPORTANT: Heavy implements together with rough terrain and speed can place excessive strain on drawbar. Do not exceed maximum static vertical load on drawbar for a given drawbar (A) length/position, as indicated in table below.

  PTO Shaft (F) End of PTO Shaft to Draw Pin Hole Distance (C) Drawbar Position Maximum Vertical Drawbar Load
8120 - 8420 with Cat 3 Drawbar Standard 1000 rpm w/20 splines, 45 mm (1-3/4 in.) Diameter Shaft 500 mm (20 in.) Front Hole (E) Long Position 1770 kg (3900 lb)
8120 - 8420 with Cat 3 Drawbar Optional 540 rpm w/6 splines, 35 mm (1-3/8 in.) Diameter shaft 350 mm (14 in.) Rear Hole (D) Short Position 2750 kg (6070 lb)
8120 - 8420 with Cat 3 Drawbar Optional 1000 rpm w/21 splines, 35 mm (1-3/8 in.) Diameter Shaft 400 mm (16 in.) Front Hole (E) Long Position 1770 kg (3900 lb
8520 with Cat 4 Drawbar Standard 1000 rpm w/20 splines, 45 mm (1-3/4 in.) Diameter Shaft 500 mm (20 in.) Single Hole Drawbar 2222 kg (4900 lb)
8520 with Cat 4 Drawbar Optional 540 rpm w/6 splines, 35 mm (1-3/8 in.) Diameter Shaft N/A N/A N/A
8520 with Cat 4 Drawbar Optional 1000 rpm w/20 splines, 35 mm (1-3/8 in.) Diameter Shaft 400 mm (16 in.) Single Hole Drawbar 2222 kg (4900 lb)
8120 - 8520 with Cat 4 Drawbar and Heavy Duty Drawbar Support Standard 1000 rpm w/20 splines, 45 mm (1-3/4 in.) Diameter Shaft 500 mm (20 in.) Single Hole Drawbar 4536 kg (10,000 lb)
Category 3 drawbar uses a 38 mm (1.5 in.) draw pin.
Category 4 uses a 51 mm (2.0 in.) draw pin.

 

Drawbar Load Limits Based on Drawbar Position, Length and PTO Type

Tighten drawbar locking bolts (B) to specification.

Specification

Drawbar Locking Bolts -Torque 435 N·m (322 lb-ft)

OURX935,000030F -19-14JUN04-1/2


IMPORTANT: Heavy duty drawbar support must be used when maximum static vertical load exceeds 2222 kg (4900 lb).

NOTE: Category 4 drawbar uses special cap screws. Use original cap screws or see your John Deere Dealer.

Attach heavy duty support (A) on Category 4 drawbar when vertical load exceeds 2222 kg (4900 lb).

Tighten special cap screws.

Heavy Duty Drawbar Support - Specification

Support Cap Screws -Torque 430 N˙m (318 lb-ft)


A-Heavy Duty Support

RXA0058109

OURX935,000030F -19-14JUN04-2/2