General Wheel, Tire, and Tread Guidelines

RW21260
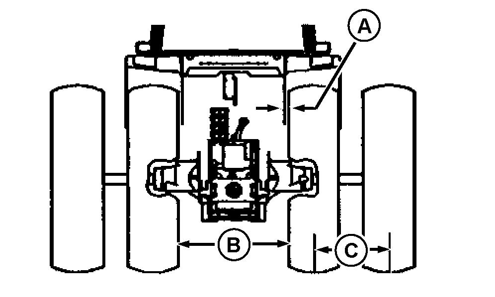
RW19899A

Reverse wheels on axles to provide a wider range of settings by changing rim position. Maintain correct direction of tire rotation by moving each wheel to opposite side of tractor.

IMPORTANT: Tires must have at least 25 mm (1 in.) clearance with fenders (A). Distance between tires must be at least 1015 mm (40 in.) with tires equal distances from tractor centerline (B).

With sway blocks in upper position (sway allowed), minimum distance between tires must be 1090 mm (43 in.) to prevent interference.

Check for adequate clearance between implement and rear tires.

DO NOT mix radial and bias-ply tires on same axle.

Drive and dual tires mounted on the same axle should all be inflated to the same pressure.

Over inflating a radial tire reduces machine performance. Using the correct inflation pressures will result in optimum tractive performance.

causym CAUTION: Prevent personal injury and tractor instability. Never operate with single

tires having tread width less than 1520 mm (60 in.).

IMPORTANT: Do not exceed 2800 mm (110 in.) between single tires for pulling heavy loads.

Minimum Spacing for Dual Tires (C)
 
Tire Section Minimum Spacing
   
320 416 mm (16.4 in.)
380 480 mm (18.9 in.)
14.9 480 mm (18.9 in.)
420 536 mm (21.1 in.)
18.4 578 mm (22.7 in.)
20.8 645 mm (25.4 in.)
620 751 mm (29.6 in.)
650 779 mm (30.7 in.)
710 845 mm (33.2 in.)

 

Using Tubes With Tubeless Radial Tires

Inflation pressure may be set as low as 40 kPa (0.4 bar) (6 psi), if high quality (natural rubber) tubes are used. Lower quality tubes require the minimum inflation pressure of 80 kPa (0.8 bar) (12 psi). Direct questions regarding tube quality to your tire dealer.

AG,RX15494,2777 -19-27OCT99-1/1