Adjusting Headlights

RXA0052853


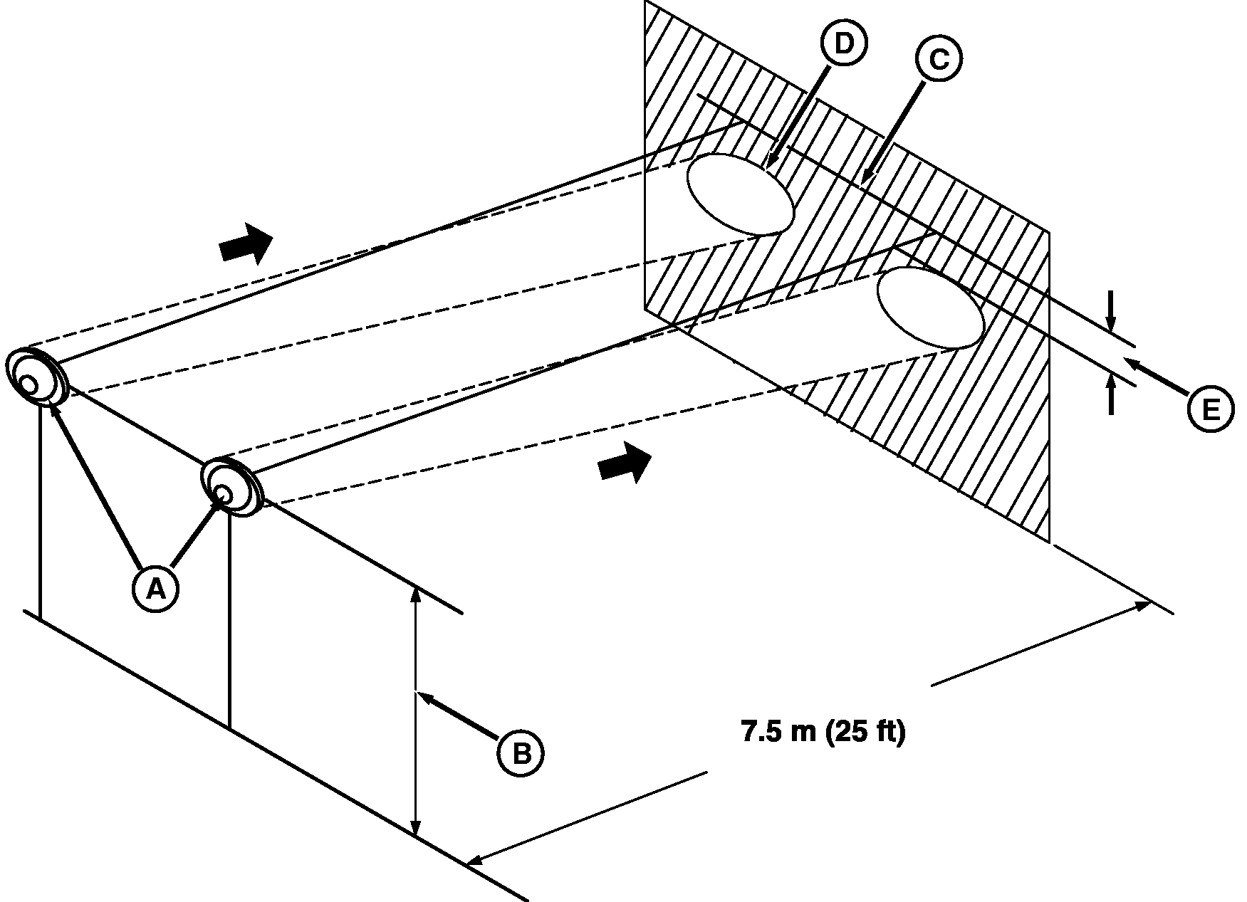
A-Headlights
B-Distance from Center of Head Light to Ground


C-Horizontal Line on Wall


D-Border of Bright Area


E-10% of Distance (B)

1. Park tractor on a level surface with headlights (A) 7.5 meters (25 ft) from a vertical wall.

2. Measure the distance (B) from the center of a head light to the ground.

3. Mark a horizontal line (C) on the wall, the same distance from the ground as (B).

4. Set headlights on low beam and observe bright areas on the wall.

5. Adjust headlights so the upper border of bright area (D) is at least one tenth of distance (B) below line (C).

RW29387,00001B0 -19-23OCT02-1/1