Changing Front PTO Housing Oil (If Equipped)

SERVICE INTERVAL - 1500 HOURS

 

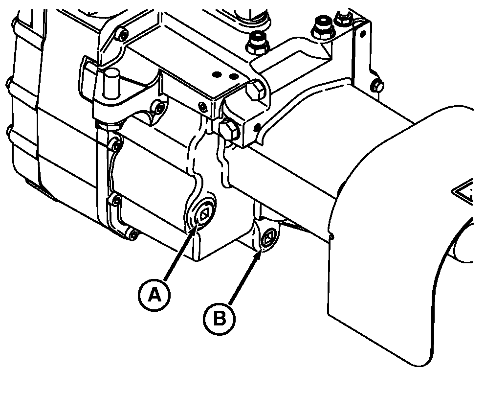
NOTE: Front PTO housing holds 8 liters (8.5 qt.) of oil. Recommended oil is the same as for transmission: John Deere HY-GARD™

1. Remove plugs (A and B).

2. Install plug (B) after oil has drained.

3. Fill with transmission-hydraulic oil specified in Fuel, Lubricants and Coolant section, through fill hole (A) until oil is even with bottom of hole.

4. Install plug (A).

5. After a few minutes of operation, recheck oil level. Add more if necessary.

RXA0068154


A-Check/Fill Plug
B-Drain Plug

AG,RF30435,2714 -19-22MAR05-1/1