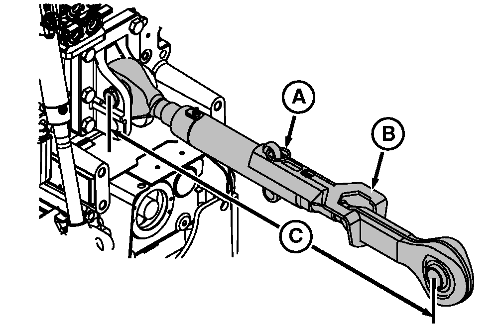
Adjusting Center Link

Adjust center link to level implement front-to-rear.

1. Remove locking ring (A) and lift adjusting handle wrench (B).

2. Rotate center portion of center link to desired position.

3. Measure between centers of pins (C). Normal adjusting range should be within specifications.

Specification

Adjustment -Length 609-769 mm (24-30 in.)

4. Position adjusting handle wrench against center link body and fasten with locking ring.

RXA0068309

4559 kg (10,050 lb) Hitch Shown


A-Locking Ring
B-Wrench
C-Center of Pins

OUMX005,00015D2 -19-22AUG03-1/1