Eight Position MFWD Wheel Settings

NOTE: (A-H) are used for all tires 540 mm (20.8 in.) or less.

Tread settings are measured at bottom center line of tire.

Use diagram at the right to adjust rim and disk, to a desired tread setting for all tires 540 mm (20.8 in.) or less.

IMPORTANT: After setting wheel spacing, tighten rim-to-disk bolts to 310 N·m (230 lb-ft) and disk-to-hub nuts to 600 N·m (445 lb-ft).

Retighten bolts after working 3 HOURS , 10 HOURS , and DAILY for the first week of operation.

Adjust fenders and steering stops as required using the tables and diagrams on the following pages.

RXA0062856

OURX935,00000AC -19-05APR05-1/2


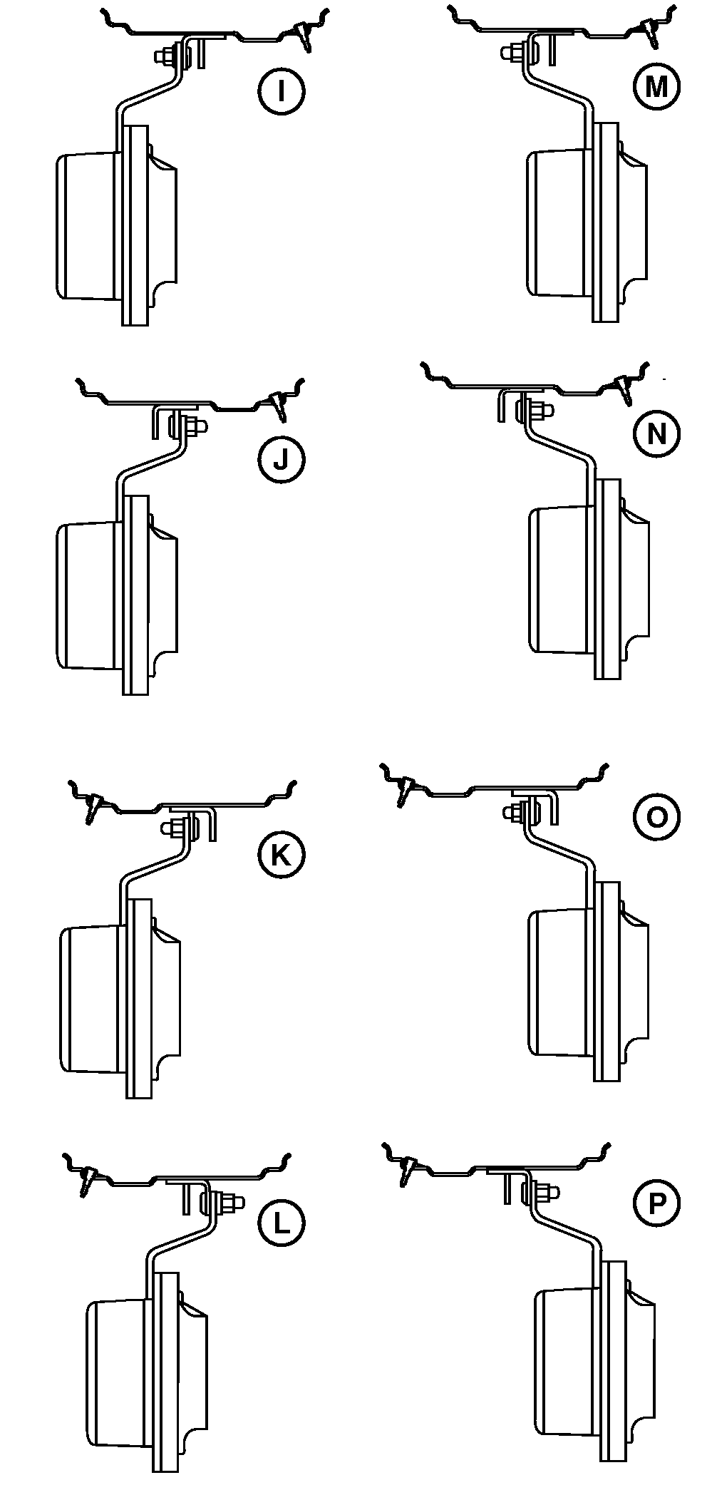
NOTE: (I-P) are used for 600/65R28 and 600/70R30 tires.

Tread settings are measured at bottom center line of tire.

Use diagram at the right to adjust rim and disk, to a desired tread setting for 600/65R28 and 600/70R30 tires.

IMPORTANT: After setting wheel spacing, tighten rim-to-disk bolts to 310 N·m (230 lb-ft) and disk-to-hub nuts to 600 N·m (445 lb-ft).

Retighten bolts after working 3 HOURS , 10 HOURS , and DAILY for the first week of operation.

Adjust fenders and steering stops as required using the tables and diagrams on the following pages.

RXA0062368

Wheel Positions For MFWD and Triple Link Suspension Axles

OURX935,00000AC -19-05APR05-2/2