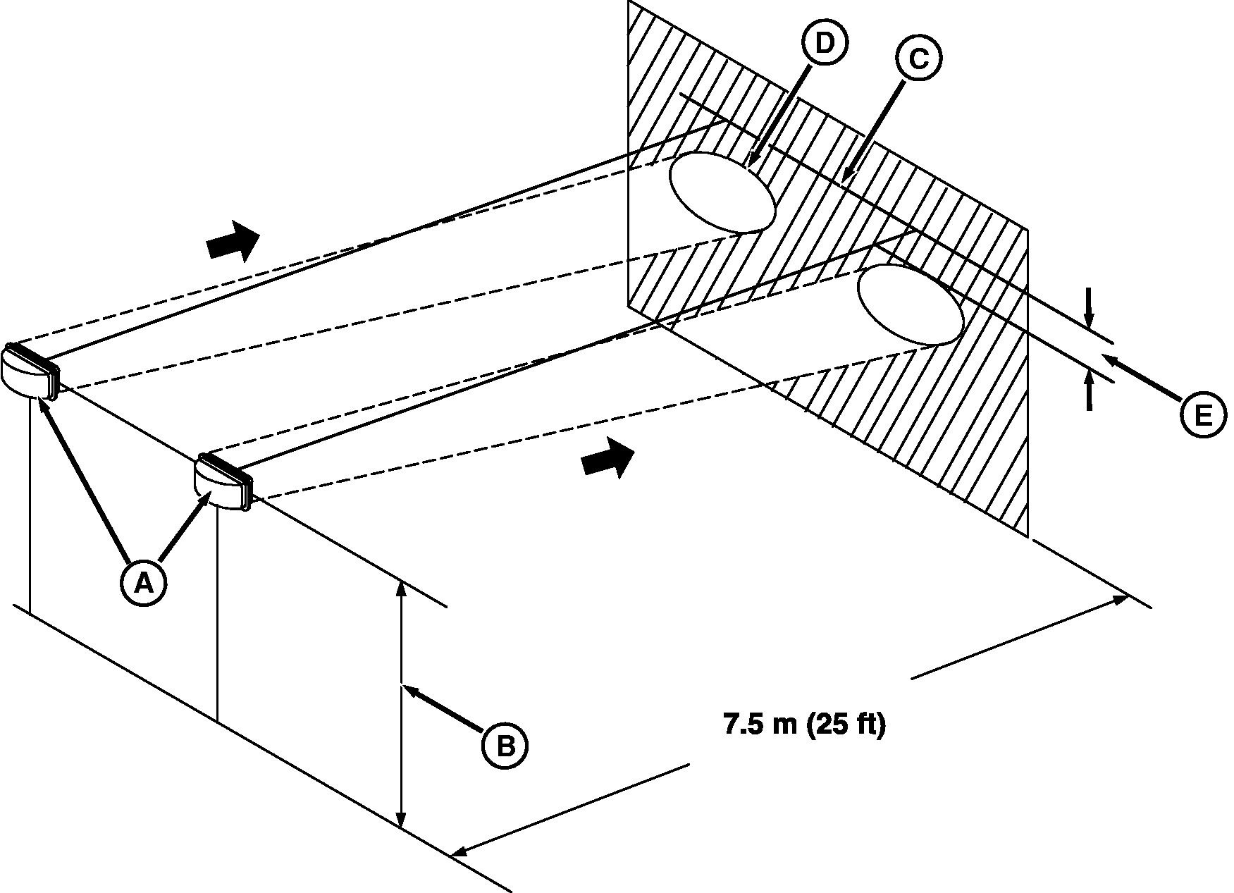
Adjusting Head Lights

RW26898


A-Head Lights
B-Distance from Center of Head Light to Ground


C-Horizontal Line on Wall


D-Border of Bright Area


E-10% of Distance (B)

1. Park tractor on a level surface with head lights (A) 7.5 meters (25 ft) from a vertical wall.

2. Measure the distance (B) from the center of a head light to the ground.

3. Mark a horizontal line (C) on the wall, the same distance from the ground as (B).

4. Set head lights on low beam and observe bright areas on the wall.

5. Adjust head lights so the upper border of bright area (D) is at least one tenth of distance (B) below line (C).

AG,RF30435,2633 -19-05MAY00-1/1