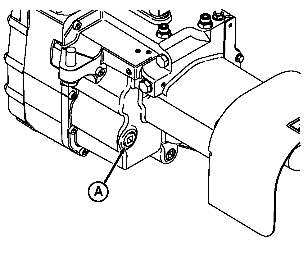
Checking Front PTO Housing Oil Level (If Equipped)

SERVICE INTERVAL - 250 HOURS

 

1. Park tractor on level surface.

2. Remove plug (A). Oil level should be just below plug hole.

3. If low, add oil until level is correct. Fill with transmission-hydraulic oil specified in Fuel, Lubricants and Coolant section.

4. Install plug.


A-Check/Fill Plug

RXA0068153

AG,RF30435,2708 -19-22MAR05-1/1