Replacing Front Hazard Light Bulbs

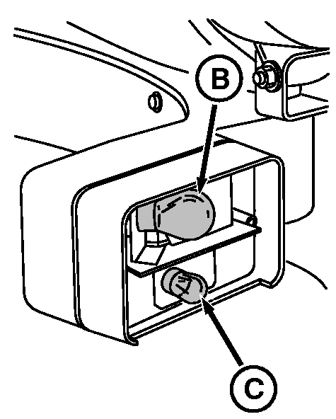
1. Remove screws (A) and lens.

2. Push in and turn counterclockwise to remove light bulb (B or C).

3. Install new bulbs in reverse order of removal.

  • Make sure to install lens with amber color UP.


A-Screws
B-Light Bulb
C-Light Bulb

RXA0068504

Right-Hand Side Shown

RXA0068505

OUMX005,0001658 -19-22MAR05-1/1