Changing Pick-Up Hitch Hook (If Equipped)

1. Start engine and extend hitch just enough to access pins (A) using SCV control lever.

2. Shut off engine and remove key.

3. Remove pins and hook.

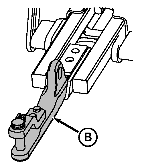
4. Install swinging drawbar (B). Fasten with existing pins.

5. Store hook or drawbar in holder on left-hand side step.


A-Pins
B-Swinging Drawbar

RXA0068321
RXA0068322
RXA0068323

OUMX005,00016BB -19-22MAR05-1/1