Adjusting Headlights and Front Grille Work Lights

RW26898


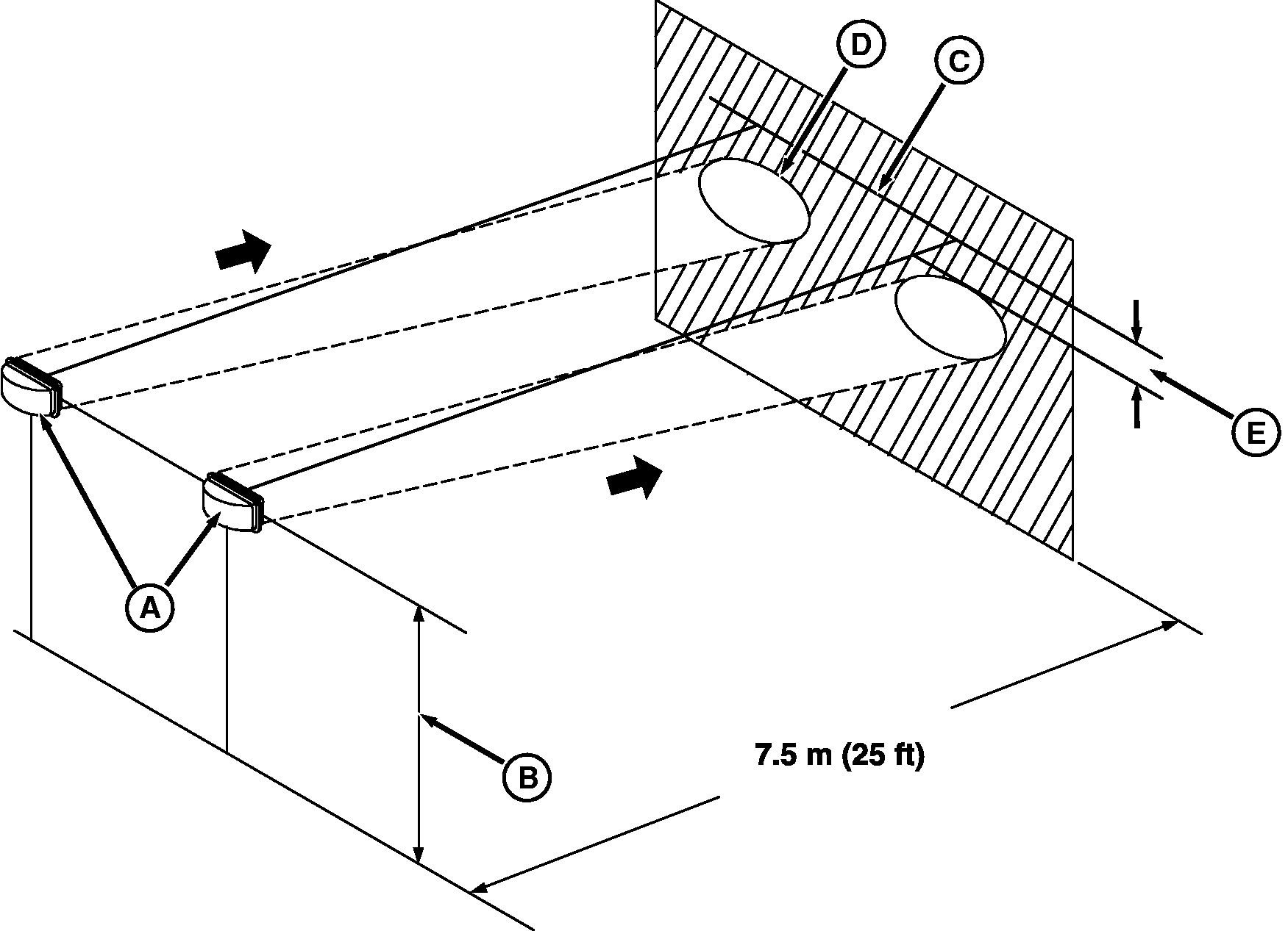
A-Headlights/Work Lights
B-Distance from Center of Headlight to Ground


C-Horizontal Line on Wall


D-Border of Bright Area


E-10% of Distance (B)

1. Park tractor on a level surface with headlights/work lights (A) 7.5 meters (25 ft) from a vertical wall.

2. Measure the distance (B) from the center of a headlight/work light to the ground.

3. Mark a horizontal line (C) on the wall, the same distance from the ground as (B).

4. Set headlights/work lights on low beam and observe bright areas on the wall.

5. Adjust headlights/work lights so the upper border of bright area (D) is at least one tenth of distance (B) below line (C).

    OUMX005,0001709 -19-02JUN05-1/2


    • Turn screw (A) to position headlight/work light in and up.
    • Turn screw (B) to position headlight/work light out and down.


    A-Screw
    B-Screw

      RXA0068497

      Left-Hand Side Front Grille Work Light Shown

    OUMX005,0001709 -19-02JUN05-2/2