Using Electrical Outlets

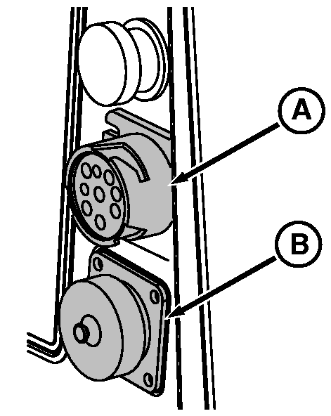
IMPORTANT: Diagnostic outlet (A) is only to be used by your John Deere dealer. Other uses could damage the tractor's electronic components.

The 12-volt outlet (B) is used when connecting auxiliary equipment. An additional electrical outlet (C) is installed on left corner of the Field Office.

Pin (D) provides (key) switched power, pin (E) provides battery power (hot) and pin (F) is ground. Use auxiliary equipment installation instructions or see your John Deere dealer.

NOTE: Each outlet is protected by a 30-amp fuse.

Remove Field Office storage tray and locate 12-volt power source wiring for additional power plug. See your John Deere dealer for parts.


A-Diagnostic Outlet
B-Accessory Outlet
C-Optional Accessory Outlet
D-Switched Power Circuit
E-Battery Circuit
F-Ground

RXA0068245
RW26645
RW26646
RW56061

Compartment Under Field Office Storage Tray

OUO1011,00053A1 -19-06DEC05-1/1