Réglage des phares

RW26898


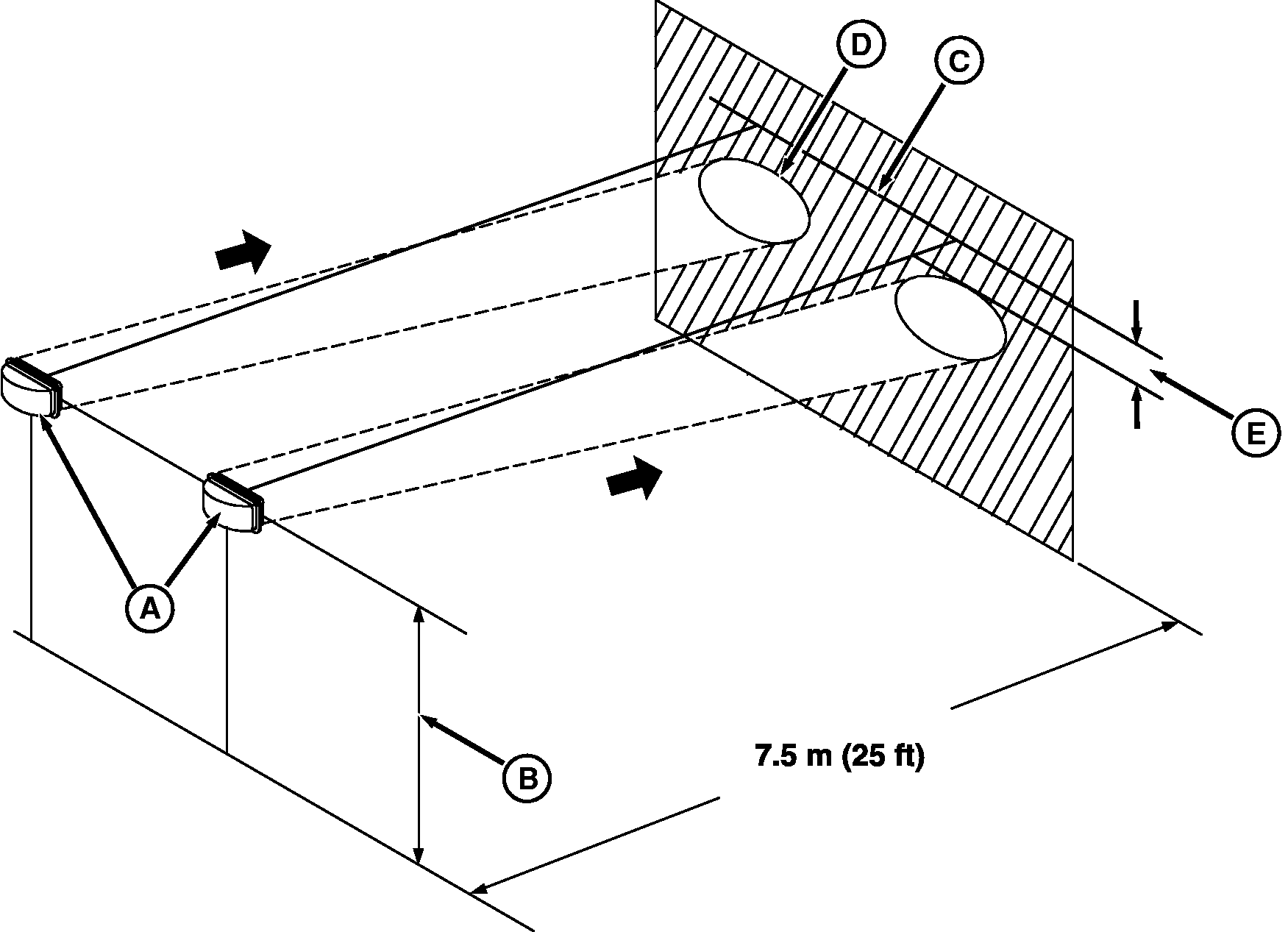
A-Phares
B-Distance entre le centre du phare et le sol


C-Trait horizontal sur le mur


D-Bord de la zone éclairée


E-10 % de la distance (B)

1. Garer le tracteur sur une surface plane, les phares (A) se trouvant à 7,5 m (25 ft) d'un mur vertical.

2. Mesurer la distance (B) entre le centre d'un phare et le sol.

3. Tracer un trait horizontal (C) sur le mur, à la même distance du sol que (B).

4. Allumer les feux de croisement et observer l'endroit du mur qui est éclairé.

5. Régler les phares de sorte que le bord supérieur de la zone éclairée (D) se trouve à au moins un dixième de la distance (B) sous le trait (C).

AG,RF30435,2633 -28-05MAY00-1/1