Einstellung der Frontscheinwerfer

RW26898


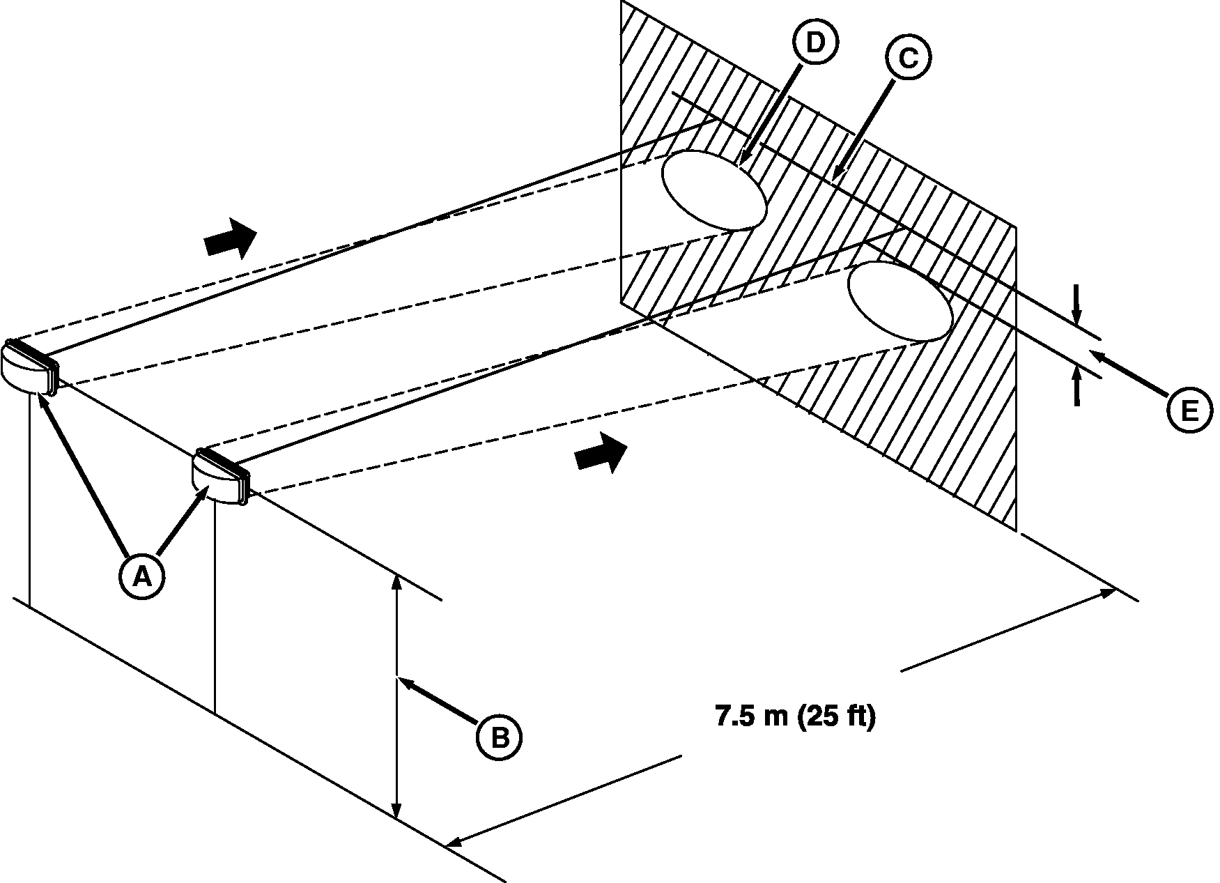
A-Frontscheinwerfer
B-Abstand von Scheinwerfermitte zu Boden


C-Horizontale Linie auf der Wand


D-Umriß des hell beleuchteten Bereichs


E-10 % des Abstands (B)

1. Den Traktor auf einer ebenen Standfläche mit den Scheinwerfern (A) in einem Abstand von 7,5 m (25 ft) vor einer senkrechten Mauer abstellen.

2. Den Abstand (B) zwischen der Scheinwerfermitte und dem Boden messen.

3. Eine horizontale Linie (C) auf der Wand auftragen, die vom Boden den Abstand (B) hat.

4. Die Scheinwerfer auf Abblendlicht einstellen und den hell beleuchteten Bereich auf der Wand beobachten.

5. Die Scheinwerfer so einstellen, daß der obere Rand des hell beleuchteten Bereichs (D) mindestens ein Zehntel des Abstands (B) unter der Linie (C) liegt.

AG,RF30435,2633 -29-05MAY00-1/1