Regolazione dei fari

RW26898


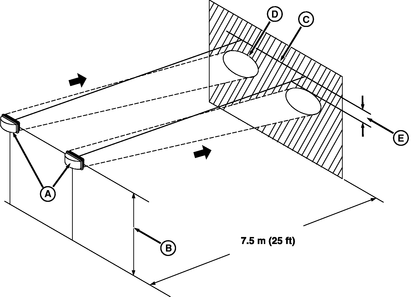
A-Fari
B-Distanza tra il centro del faro anteriore e il suolo


C-Riga orizzontale tracciata sulla parete


D-Margine dell'area luminosa


E-10% di distanza (B)

1. Parcheggiare il trattore in piano con i fari anteriori (A) a 7,5 m (25 ft) di distanza da una parete.

2. Misurare la distanza (B) tra il centro del faro e il suolo.

3. Tracciare una riga orizzontale (C) sulla parete, alla stessa distanza dal suolo di (B).

4. Accendere i fari anabbaglianti e osservare le aree luminose sulla parete.

5. Regolare i fari in modo che il margine superiore dell'area luminosa (D) si trovi ad almeno un decimo di distanza (B) sotto la riga (C).

AG,RF30435,2633 -39-05MAY00-1/1