Hitch Conversion-Convertible Quick Coupler

Category 3N is necessary for some narrow row/tread operations. Use 3N if needed to allow full sway. Quick coupler is convertible to Category 3 or Category 3N. Use Category 3 whenever possible, especially for heavy loads. Its greater width gives more strength.

NOTE: Your John Deere Dealer can supply parts to adapt Category 3 hitch to Category 3N implements.

Use following procedure to convert quick coupler.

RXA0057202

OURX935,0000052 -19-09AUG05-1/5


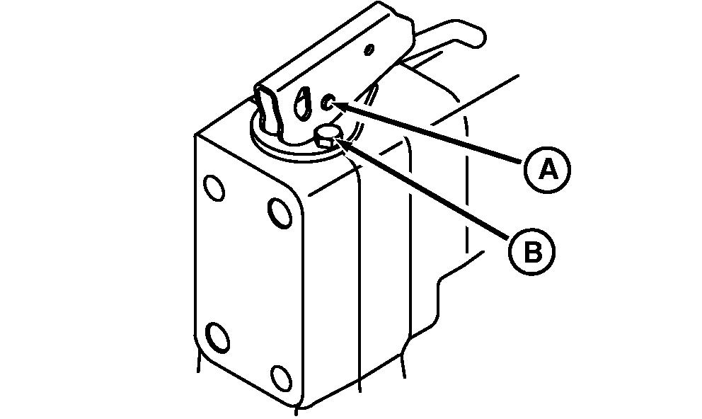
1. Install spacer (A) on outside of draft link for Category 3N.

2. Adjust bumper block (B) to minimize clearance.

3. Tighten nut securely.


A-Spacer
B-Bumper Block

RXA0057203

OURX935,0000052 -19-09AUG05-2/5


4. Support center of quick coupler. Remove pin retaining bolts (A) and pins from draft link. Remove side member cap screws (B).


A-Retaining Bolts
B-Cap Screws

RW56327A

OURX935,0000052 -19-09AUG05-3/5


5. Switch ends with quick coupler side members (A) (left member to right end and right to left). Tighten cap screws securely.


A-Side Members

RXA0063140

OURX935,0000052 -19-09AUG05-4/5


6. Disconnect handles by removing C-clip (A) and pin.

7. Remove cap screw (B) from wear plate and turn so tab is inward.

8. Install cap screws and tighten securely.

9. Reconnect handles.


A-C-Clip
B-Cap Screw

RXA0061987

OURX935,0000052 -19-09AUG05-5/5