Observing Drawbar Load Limitations

IMPORTANT: Certain heavy implements can place excessive strain on drawbar (A). Strain is greatly increased by speed and rough terrain. Do not exceed maximum static vertical load on drawbar.

Maximum Static Vertical Drawbar Load

 

8230T-8330T-8430T (Category 3)...1770 kg (3900 lb)

8430T (Category 4)...2222 kg (4900 lb)

Category 4 with Heavy Duty Support *...4430 kg (10000 lb)

 

* Optional on All Models

 

NOTE: Category 3 drawbar uses a 38 mm (1.5 in.) pin. Category 4 uses a 51 mm (2.0 in.) pin.

Tighten bolts (B).

Drawbar Locking Bolts - Specification

Locking Bolts -Torque 435 N·m (322 lb-ft)

RW26276


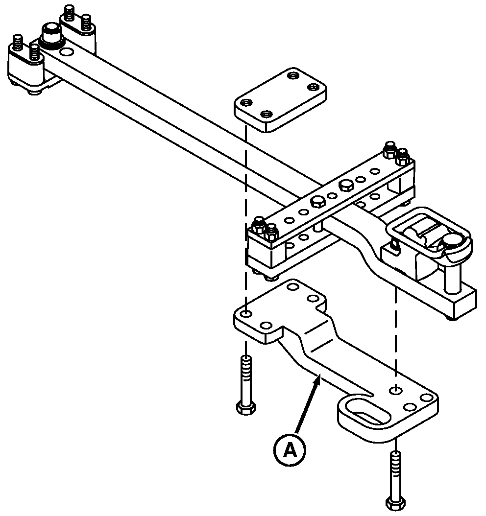
A-Drawbar
B-Bolts

OURX935,0000057 -19-23JUL05-1/2


IMPORTANT: Heavy duty drawbar support must be used when maximum static vertical load exceeds 2222 kg (4900 lb).

NOTE: Category 4 drawbar uses special cap screws. Use original cap screws or see your John Deere dealer.

Attach heavy duty support (A) on Category 4 drawbar when vertical load exceeds 2222 kg (4900 lb).

Tighten special cap screws.

Heavy Duty Drawbar Support - Specification

Support Cap Screws -Torque 430 N·m (318 lb-ft)


A-Support

RXA0058109

OURX935,0000057 -19-23JUL05-2/2