Using Electrical Outlets

RXA0068245
RW26645
RW26646


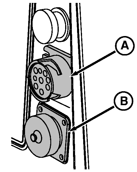
A-Diagnostic Outlet
B-Accessory Outlet


C-Optional Accessory Outlet
D-Switched Power Circuit


E-Battery Circuit


F-Ground

IMPORTANT: Diagnostic outlet (A) on the side console, is only to be used by your John Deere Dealer. Other uses could damage the electronic components of the tractor.

The 12-volt outlet (B) is used when connecting auxiliary equipment. An additional electrical outlet (C) is installed on left corner of the field office.

Pin (D) provides (key) switched power, pin (E) provides battery power (hot) and pin (F) is ground. Use

auxiliary equipment installation instructions or see your John Deere Dealer.

NOTE: Each outlet is protected by a 30-amp fuse.

Remove storage tray of field office and locate wiring for additional cigarette-lighter type, 12-volt power sources. See your John Deere Dealer for parts.

OURX935,0000404 -19-18JAN06-1/1