Attaching Implement to Quick Coupler

causym CAUTION: To avoid bodily injury or machine damage, put transmission in PARK position and check the full range of hitch for interference, binding, or PTO separation whenever an implement is attached.

Do not stand between tractor and implement.

1. Pull up on coupler latch handles (A).

2. Lower hitch until quick coupler hooks are lower than implement hitch pins.

3. Back up tractor to implement.

4. Raise hitch enough to engage implement pins in hooks.

causym CAUTION: To avoid bodily injury or machine damage make sure implement is attached correctly. Incorrect attachment can allow implement to be pulled over the tractor drive wheel and onto the operator station.

5. Push coupler latch handles down to lock implement to quick coupler.

6. Connect hydraulic hoses and electrical connections.

IMPORTANT: Check for implement interference. Drawbar removal may be necessary.

7. Slowly pull hitch control lever to raise implement. Lower implement to ground and adjust upper height limit control if necessary.

RXA0057301


A-Latch Handles

OURX935,00005A2 -19-03APR06-1/2


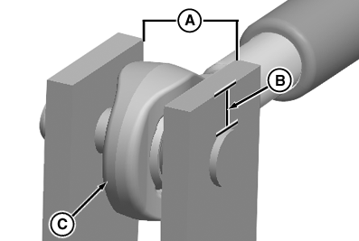
IMPORTANT: If center link is attached directly to implement, measure upper mast opening (A) and height above pin (B). If upper mast opening is greater than 70 mm (2.8 in.) or height above pin is less than 14 mm (0.6 in.), use shims to limit/restrict swiveling of yoke (C).


A-Distance
B-Distance
C-Yoke

RXA0086593

Equipment Mast

OURX935,00005A2 -19-03APR06-2/2