Attaching Implement to Quick Coupler

RXA0078885

Coupler Latch Handle

RXA0086769

Lever

 

A-Coupler Latch Lever

B-Hitch Control Lever

 

causym CAUTION: To avoid bodily injury or machine damage:

  • Put transmission in PARK position and check the full range of hitch for interference, binding, or PTO separation whenever an implement is attached.

  • Make sure implement is correctly attached. Incorrect attachment can allow implement to be pulled over the tractor wheel and onto the operator station.

  • Do not stand between tractor and implement.

1. Pull up on coupler latch levers (A).

2. Lower hitch until quick coupler hooks are lower than implement hitch pins.

3. Back up tractor to implement.

4. Raise hitch enough to engage implement pins in hooks.

5. Push coupler latch levers down to lock implement to quick coupler.

6. Connect hydraulic hoses and electrical connections.

7. Slowly pull hitch control lever (B) to raise implement. Lower implement to ground and adjust upper height limit control if necessary.

OURX935,0000480 -19-20SEP07-1/2


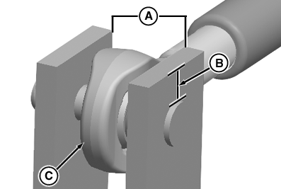
IMPORTANT: If center link is attached directly to implement, measure upper mast opening (A) and height above pin (B). If upper mast opening is greater than 70 mm (2.8 in.) or height above pin is less than 14 mm (0.6 in.), use shims to limit/restrict swiveling of yoke (C).

  • If connecting to a category 4N hitch, use a combination of shims on both sides of center link pivot.


A-Distance
B-Distance
C-Yoke

RXA0086593

Equipment Mast

OURX935,0000480 -19-20SEP07-2/2