Cleaning Optional Fuel Water Separator Filter Element-If Equipped

NOTE: To replace filter element and filter housing gasket, See your John Deere dealer.

1. Turn off engine.

NOTE: Drain fuel into an appropriate container and dispose of properly.

2. Open drain valve and drain fuel from bowl.

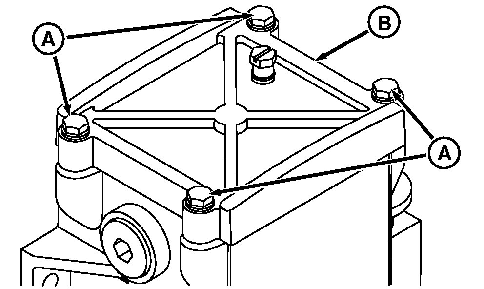
3. Remove cap screws (A) and lid (B).

4. Remove spring cassette (C).

5. Lift out filter element by the handle (D).

6. Wash filter in clean diesel fuel or mineral spirits.

7. Inspect filter for damage. If damage, replace with new filter.

8. Install filter element.

9. Install spring cassette.

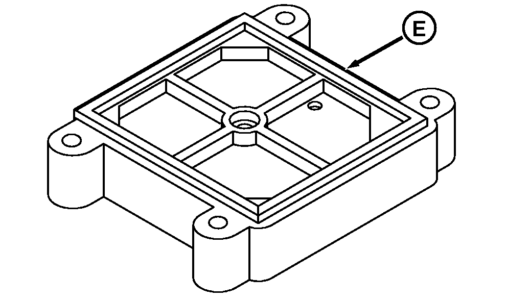
10. Inspect lid gasket (E) and replace if necessary.


A-Cap Screws
B-Cover
C-Spring Cassette
D-Handle
E-Gasket

RXA0089770

Remove Cap Screws

RXA0089818

Remove Spring Cassette and Filter Element

RXA0089773

Gasket

OURX935,0000629 -19-02JAN08-1/2


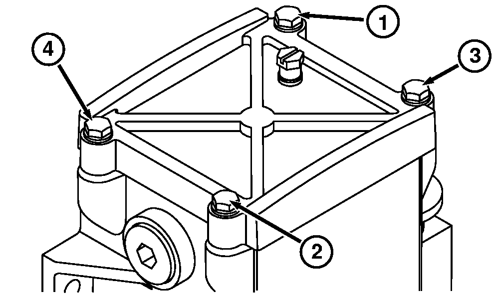
11. Install new filter, spring cassette, lid and four cap screws. Leave cap screws finger tight.

12. Tighten cap screws in sequence as shown.

13. Prime fuel system and check for leaks.

RXA0089820

Install Cap Screws

OURX935,0000629 -19-02JAN08-2/2