Observing Drawbar Load Limitations

RXA0090815

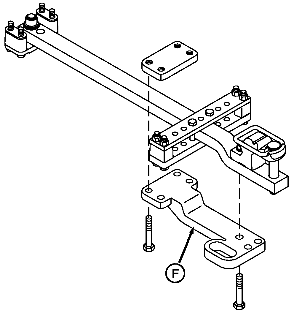
Drawbar

IMPORTANT: Heavy implements together with rough terrain and speed can place excessive strain on drawbar. Do not exceed maximum static vertical load on drawbar for a given drawbar (A) length/position, as indicated in the following table.

IMPORTANT: Heavy duty drawbar support must be used when maximum static vertical load exceeds 2245 kg (4950 lb).

NOTE: Special cap screws are used on drawbars. See your John Deere dealer if cap screws must be replaced.

When vertical load exceeds 2245 kg (4950 lb), attach heavy duty support (F) on Category 4 drawbar and tighten special cap screws to torque specification.

Heavy Duty Drawbar Support - Specification

Support Cap Screws -Torque 430 N·m (318 lb-ft)


A-Drawbar
B-PTO Shaft
C-Dimension
D-Short Position
E-Long Position
F-Heavy Duty Support

RXA0090722

Heavy Duty Drawbar with Support

OURX935,000030F -19-18SEP07-1/2


Drawbar Load Limits Based on Drawbar Position, Length and PTO Type
Tractor Model and Drawbar Category PTO Shaft (B) End of PTO Shaft to Draw Pin Hole Distance (C) Drawbar Position Maximum Vertical Drawbar Load
8130 - 8530 with Cat 2 Drawbar Standard 1000 rpm w/20 splines, 45 mm (1-3/4 in.) Diameter Shaft 500 mm (20 in.) Rear Hole (D) Short Positiona 2405 kg (5300 lb)b
8130 - 8530 with Cat 2 Drawbar Optional 540 rpm w/6 splines, 35 mm (1-3/8 in.) Diameter shaft 400 mm (16 in.) Rear Hole (D) Short Positiona 2405 kg (5300 lb)b
8130 - 8530 with Cat 2 Drawbar Optional 1000 rpm w/21 splines, 35 mm (1-3/8 in.) Diameter Shaft 400 mm (16 in.) Rear Hole (D) Short Position a 2405 kg (5300 lb)b
8130 - 8330 with Cat 3 Drawbar Standard 1000 rpm w/20 splines, 45 mm (1-3/4 in.) Diameter Shaft 500 mm (20 in.) Front Hole (E) Long Position 1837 kg (4050 lb)
8130 - 8330 with Cat 3 Drawbar Optional 540 rpm w/6 splines, 35 mm (1-3/8 in.) Diameter shaft 350 mm (14 in.) Rear Hole (D) Short Position 2700 kg (6000 lb)
8130 - 8330 with Cat 3 Drawbar Optional 1000 rpm w/21 splines, 35 mm (1-3/8 in.) Diameter Shaft 400 mm (16 in.) Front Hole (E) Long Position 1837 kg (4050 lb)
8430 and 8530 with Cat 4 Drawbar Standard 1000 rpm w/20 splines, 45 mm (1-3/4 in.) Diameter Shaft 500 mm (20 in.) Single Hole Drawbar 2245 kg (4950 lb)
8430 and 8530 with Cat 4 Drawbar Optional 540 rpm w/6 splines, 35 mm (1-3/8 in.) Diameter Shaft N/A N/A N/A
8430 and 8530 with Cat 4 Drawbar Optional 1000 rpm w/21 splines, 35 mm (1-3/8 in.) Diameter Shaft 400 mm (16 in.) Single Hole Drawbar 2245 kg (4950 lb)
8130 - 8530 with Cat 4 Drawbar and Heavy Duty Drawbar Support Standard 1000 rpm w/20 splines, 45 mm (1-3/4 in.) Diameter Shaft 500 mm (20 in.) Single Hole Drawbar 4990 kg (11,000 lb)
8130 - 8530 with Cat 4 Drawbar and Heavy Duty Drawbar Support Optional 540 rpm w/6 splines, 35 mm (1-3/8 in.) Diameter shaft N/A N/A N/A
8130 - 8530 with Cat 4 Drawbar and Heavy Duty Drawbar Support Optional 1000 rpm w/21 splines, 35 mm (1-3/8 in.) Diameter shaft 400 mm (16 in.) Single Hole Drawbar 4990 kg (11,000 lb)
Category 2 drawbar uses a 31.75 mm (1.25 in.) draw pin.
Category 3 drawbar uses a 38 mm (1.5 in.) draw pin.
Category 4 uses a 51 mm (2.0 in.) draw pin.
aLong Position E not used for PTO operations, but rated drawbar load becomes 1655 kg (3650 lbs)
bType approval load rating higher at 2800 kg (6300 lbs. )

 

OURX935,000030F -19-18SEP07-2/2