GreenStar™ System Connections

Connect GreenStar Display (G) to bracket (E).

NOTE: Brackets (C), (D), (E) and (F) can be adjusted to provide desired position for GreenStar Display Monitor.

Install harness from display to bulk head connector (A).

NOTE: See your John Deere dealer for wiring harnesses needed to connect to GSD4, GSD2100 and DSD2600 displays.

Connect StarFire connector (H) to StarFire receiver (I).

NOTE: See your John Deere dealer for wiring harnesses needed to connect to StarFire receiver.

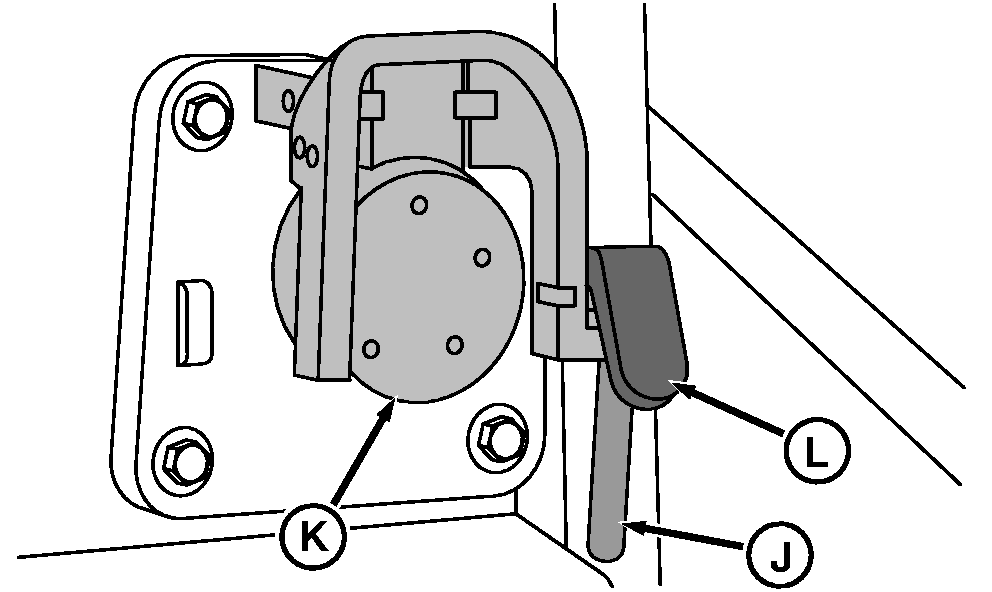
Connect implement to tractor nine pin connector (K) at the rear of tractor.

Push release (L) and pull handle (J) to open implement connector.


A-Bulk Head Connector for GSD4, GSD2100 and GSD2600 Displays
B-True Ground Speed Connector
C-Bracket
D-Bracket
E-Bracket
F-Bracket
G-GreenStar Display (GSD2100 Shown)
H-StarFire Receiver Connector
I-StarFire Receiver
J-Handle
K-Implement Connector
L-Release

RXA0086023

GreenStar Connections

RXA0084041

Implement Connector

RXA0086024

9 Pin Connector on Back of Tractor

OURX935,00003FB -19-18JAN06-1/1