Servicing and Connecting Snap to Connect STC® Fittings

causym CAUTION: Do not disconnect STC fitting when under pressure. Failure to relieve pressure before disconnecting fitting may result in personal injury, damage to equipment or both.

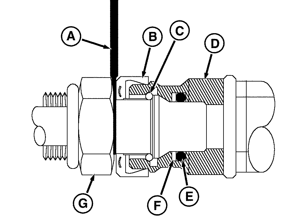
NOTE: Snap to Connect fittings are used on steel lines, hose connections and come in a variety of sizes. JDG1885 STC tool (A) is designed as a spacer to move release ring (B) inward which releases retaining ring (C). JDG1885 STC tool can be purchased through your John Deere dealer.

IMPORTANT: Do not use tool to pry fittings apart. Prying with tool may damage fitting and tool.

1. Insert correct STC tool between release ring and fitting.

2. Remove hose or line from connector.

NOTE: If retaining ring (C), backup ring (F) or O-ring (E) are damaged, see your John Deere dealer for replacement kit and replace all three parts.

Before connecting Snap to Connect Fitting:

1. Check mating surfaces for nicks, scratches or flat spots.

2. Check O-ring, backup ring and retaining ring for wear or damage.

3. Make sure female end (D) and male end (G) are clean and free of contaminates.

4. Make sure release ring (B) is on male end fitting.

5. Push fitting halves together until a definite snap and solid stop is felt.

6. Pull back on hose to make sure fitting halves are locked together.

RXA0080095


A-JDG1885 STC Tool
B-Release Ring
C-Retaining Ring
D-Female End (STC Fitting)
E-O-Ring
F-Backup Ring
G-Male End (STC Fitting)

STC is a registered trademark of Aeroquip Corporation

OURX935,0000463 -19-10JAN08-1/1