Hitch Conversion-Convertible Quick Coupler

Converting to category 3N is necessary for some narrow row/tread spacing operations. Quick coupler is convertible to Category 3 or Category 3N. Use Category 3 whenever possible, especially for heavy loads.

Use following procedure to convert quick-coupler:


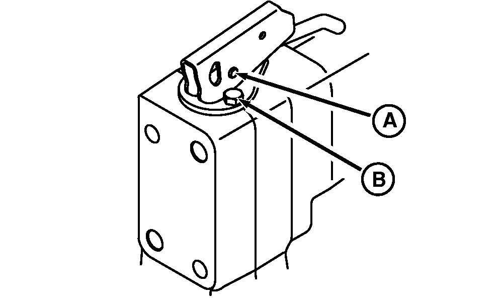
A-Spacer
B-Bumper Block

RXA0078882

OURX935,00004BB -19-12AUG05-1/5


1. Install spacer (A) on outside of draft link for Category 3N.

IMPORTANT: If coupler is converted to category 3N, sway block spacer (A) must be mounted on the outside of draft link to avoid damaging equipment.

2. Adjust bumper block (B) to minimize clearance.

3. Tighten nut securely.


A-Spacer
B-Bumper Block

RXA0083121

OURX935,00004BB -19-12AUG05-2/5


4. Support center of quick coupler. Remove pin retaining bolts (A) and pins from draft link. Remove side member cap screws (B).


A-Retaining Bolts
B-Cap Screws

RXA0057204

OURX935,00004BB -19-12AUG05-3/5


5. Switch ends with quick coupler side members (A) (left member to right end and right to left). Tighten cap screws to 320+/-64 N·m.


A-Side Members
B-Handles

RXA0057205

OURX935,00004BB -19-12AUG05-4/5


6. Disconnect handles by removing C-clip and pin (A).

7. Remove cap screw (B) from wear plate and turn so tab is inward.

8. Install cap screws and tighten securely.

9. Reconnect handles.


A-C-Clip and Pin
B-Cap Screw

RXA0061987

OURX935,00004BB -19-12AUG05-5/5