Using Sway Blocks

Install sway blocks (A) in lower position to minimize side sway of hitch.

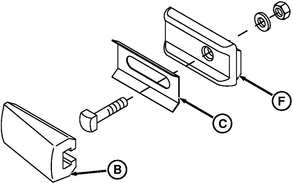
Adjust bumper (B) by loosening lock nut and sliding forward or rearward as needed to limit the amount of sway.

Mount sway blocks in upper position to allow side sway when hitch is lowered. Side sway is prevented when hitch is raised.

NOTE: Use shims as needed to provide desired sway control. Shims can be purchased from your John Deere dealer.

If there is not enough adjustment in bumper block to remove hitch sway, install shims as necessary between bumper block and spacer (F).

IMPORTANT: Tires must have at least 25 mm (1. in.) clearance distance (D) with fenders. To prevent draft link interference, be sure distance (E) between tires is:

  • Category 3N Hitch-1.09 m (43 in.)

  • Category 3 Hitch-1.17 m (46 in.)

  • Category 4N Hitch-1.17 m (46 in.)


A-Sway Blocks
B-Bumper
C-Shim
D-Distance Clearance Between Tires And Cab
E-Distance Between Tires
F-Spacer

RXA0052493

Sway Blocks in Lower Position

RXA0090041

Install Shim Between Bumper block and Spacer

RXA0089661

Distance Between Tires

OURX935,0000521 -19-21MAR06-1/1