Using External Rear PTO Pre Selector Switch (If Equipped)

NOTE: If rear PTO switch (B) is engaged before rear PTO pre selector switch (A), rear PTO will start, then cancel when PTO pre selector switch is pressed. "PTO Switch" will appear in the CommandCenter display (C). Turn all PTO switches off and restart vehicle before following correct sequence listed below.

1. Push rear PTO pre selector switch down.

2. Push rear PTO switch down and forward, "Remote PTO enabled" will appear on the CommandCenter Display. Amber warning flashers will begin flashing.

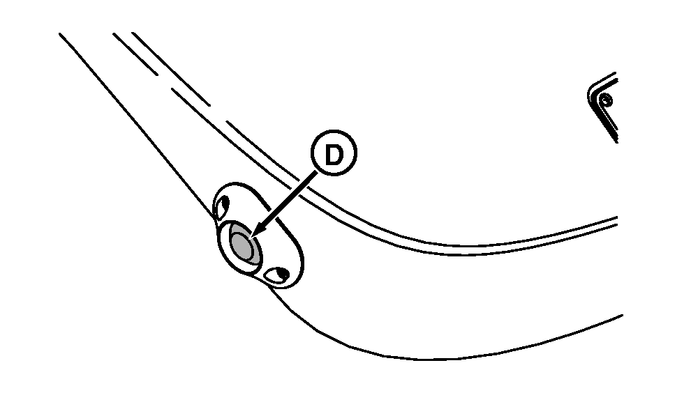
NOTE: External rear PTO switch (D) must be held in for more than four seconds before PTO will continue to operate without external rear PTO switch being depressed.

External rear PTO switch functions as as a toggle switch; one push turns rear PTO ON . Rear PTO begins turning and amber warning flashers will shut off. Depressing switch a second time, turns rear PTO OFF . Amber warning flashers will come on again at the same time rear PTO stops turning.

3. To turn on PTO, push in external rear PTO switch.

4. To turn off PTO, push external rear PTO switch again.


A-Rear PTO Pre Selector Switch
B-Rear PTO Switch
C-CommandCenter Display
D-External Rear PTO Switch

RXA0089500

Rear PTO Pre selector Switch

RXA0089486

CommandARM

RXA0089498

CommandCenter Display

RXA0089503

Remote Switch (Left Rear Fender)

OURX935,000064A -19-18SEP07-1/1