Rear Triple Wheel Row Crop Settings

Normal Operation with Hitch Between the Crop Rows

Tire Section – mm

320

380

480

Row Spacing - cm (inch)

50.80 (20)

55.88 (22)

76.20 (30)

Drive Wheel - inch

80

88

60

Dual Wheels - inch

120

132

120

Dual Extension (118.5 in Axle)

7.5 mm washer

None

None

Triple Wheels - inch

160

176

180

Triple Extension (118.5 in Axle)

15”

15” plus 6.4 mm washer

15” & 10” plus 7.5 mm washer

Off Set Operation with Hitch Over the Crop Rows

Tire Section – mm

320

380

 

Row Spacing - cm (inch)

50.80 (20)

55.88 (22)

 

Drive Wheel - inch

80

88

 

Dual Wheels - inch

120

132

 

Dual Extension (118.5 in Axle)

7.5 mm washer

None

 

Triple Wheels - inch

160

176

 

Triple Extension (118.5 in Axle)

15”

15” plus 6.4 mm washer

 

RXA0085830
RXA0085830-UN-11JAN06

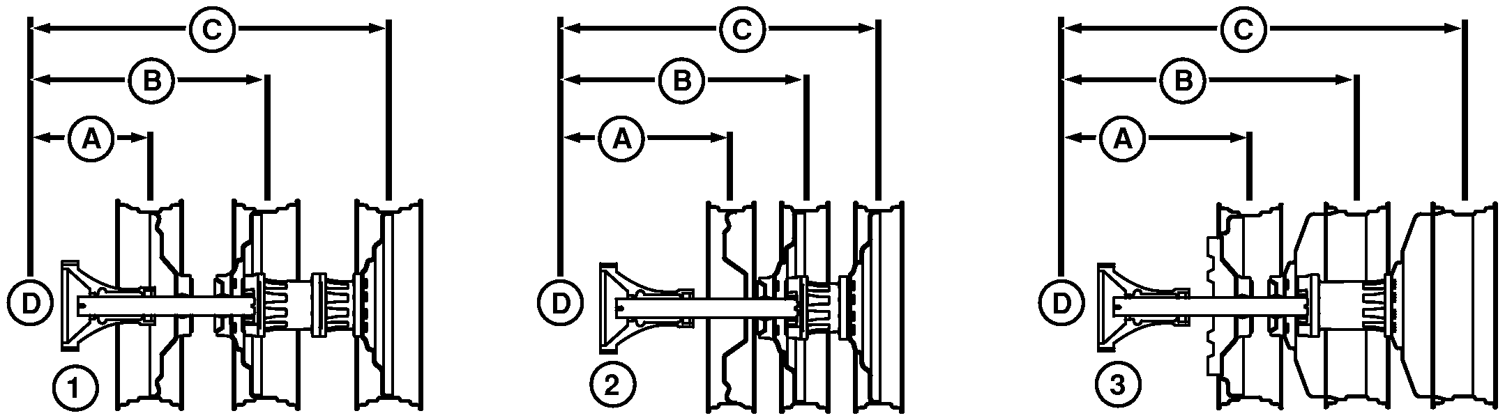
480 mm Rear Tire Triple Tread Setting

A - Single

B - Dual

C - Triple

D - Tractor Centerline

1 - 480 mm Rear Tires

2 - 380 mm Rear Tires

3 - 320 mm Rear Tires


Normal Operation

Single

Dual

Triple

480 mm Rear Tires (1)

 

A

B

C

 

1524 mm (60 in.)

3048 mm (120 in.)

4572 mm (180 in.)

Tire Size

Rim Position

Rim Position

Rim Position

480/80R50

In

Out

Out

480/80R46

In

Out

Out

18.4R46

In

Out

Out

 

380/90R50 Rear Tires (2)

Normal Operation

Single

Dual

Triple

 

A

B

C

Normal Operation

2235 mm (88 in.)

3352 mm (132 in.)

4470 mm (176 in.)

Offset Operation

1676 mm (66 in.)

2794 mm (110 in.)

3912 mm (154 in.)

Tire

Rim Position

Rim Position

Rim Position

Normal Operation

Out

Out

Out

Offset Operation

In

Position L1

Out

320/90R54 Rear Tires (3)

Normal Operation

Single

Dual

Triple

 

A

B

C

Normal Operation

2032 mm (80 in.)

3048 mm (120 in.)

4064 mm (160 in.)

Offset Operation

1524 mm (60 in.)

2540 mm (100 in.)

3556 mm (140 in.)

Tire

Rim Position

Rim Position

Rim Position

Normal Operation

Out

Position P1

Position O1

Offset Operation

In

Position L1

Position P1

1 See Sixteen Position Wheel Settings.

OURX935,00003DE-19-20100108