Attaching Implement to Quick Coupler

RXA0078885-UN-08FEB05
Coupler Latch Handle

RXA0101042-UN-19MAR09
Lever
A - Coupler Latch Lever
B - Hitch Control Lever
CAUTION: To avoid bodily injury or machine damage:
-
Put transmission in PARK position and check the full range of
hitch for interference, binding, or PTO separation whenever an implement
is attached.
-
Make sure implement is correctly attached. Incorrect attachment
can allow implement to be pulled over the tractor wheel and onto the
operator station.
-
Do not stand between tractor and implement.
-
Pull up on coupler latch levers (A).
-
Lower hitch until quick coupler hooks are lower than implement
hitch pins.
-
Back up tractor to implement.
-
Raise hitch enough to engage implement pins in hooks.
-
Push coupler latch levers down to lock implement to quick coupler.
-
Connect hydraulic hoses and electrical connections.
-
Slowly pull hitch control lever (B) to raise implement. Lower
implement to ground and adjust upper height limit control if necessary.
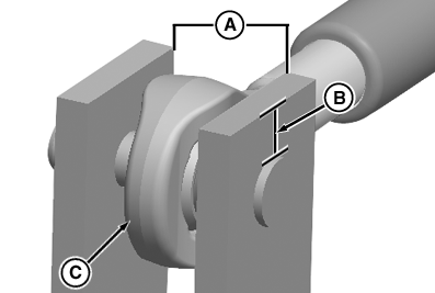
IMPORTANT: If center link is attached directly to implement,
measure upper mast opening (A) and height above pin (B). If upper
mast opening is greater than 70 mm (2.8 in.) or height above
pin is less than 14 mm (0.6 in.), use shims to limit/restrict swiveling
of yoke (C).

RXA0086593-UN-09FEB06
Equipment Mast
A - Distance
B - Distance
C - Yoke
-
If connecting to a category 4N hitch, use a combination of
shims on both sides of center link pivot.
|
|
OURX935,000070A-19-20090320
|
|