Eight Position Wheel Settings
CAUTION: Avoid the possibility of personal injury. Failure to
follow torquing sequence and procedure will result in damage to equipment
and may result in personal injury. Wheel bolts are critical and require
repeated torquing.
NOTE: A through H are used for all tires 540 mm (20.8 in.) or
less.

RXA0062856-UN-01OCT02
Rim Settings
NOTE: Tread settings are measured at bottom center line of tire.
Use diagram at the right to adjust rim and disk for desired
tread setting.
Using a star shaped pattern, torque disk to rim bolts as needed
to maintain torque.
| Item | Measurement | Specification |
|
Disk To Rim Bolts | Torque | 310 N˙m (230 lb-ft) |
Using a star shaped pattern, torque disk to hub nuts as needed
to maintain torque.
| Item | Measurement | Specification |
|
Disk To Hub Nuts | Torque | 600 N˙m (450 lb-ft) |
Retighten bolts after working 3 hours and again after 10 hours.
Tighten bolts daily for the first week of operation.
Adjust fenders and steering stops as required using the tables
and diagrams on the following pages.

RXA0062368-UN-01OCT02
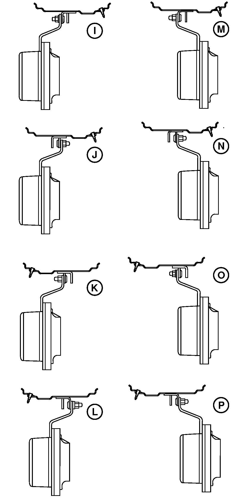
Wide Rim Settings
CAUTION: Avoid the possibility of personal injury. Failure to
follow torquing sequence and procedure will result in damage to equipment
and may result in personal injury. Wheel bolts are critical and require
repeated torquing.
NOTE: I through P are used for 600 and 620 mm tires.
NOTE: Tread settings are measured at bottom center line of tire.
Use diagram at the right to adjust rim and disk for desired
tread setting.
Using a star shaped pattern, torque disk to rim bolts as needed
to maintain torque.
| Item | Measurement | Specification |
|
Disk To Rim Bolts | Torque | 310 N˙m (230 lb-ft) |
Using a star shaped pattern, torque disk to hub nuts as needed
to maintain torque.
| Item | Measurement | Specification |
|
Disk To Hub Nuts | Torque | 600 N˙m (450 lb-ft) |
Retighten bolts after working 3 hours and again after 10 hours.
Tighten bolts daily for the first week of operation.
Adjust fenders and steering stops as required using the tables
and diagrams on the following pages.
|
|
OURX935,0000AC8-19-20090819
|
|