NOTE: To replace filter element and filter housing gasket, See
your John Deere dealer.
-
Turn off engine.

RXA0089770-UN-14JUL06
Remove Cap Screws

RXA0089818-UN-14JUL06
Remove Spring Cassette and Filter Element

RXA0089773-UN-14JUL06
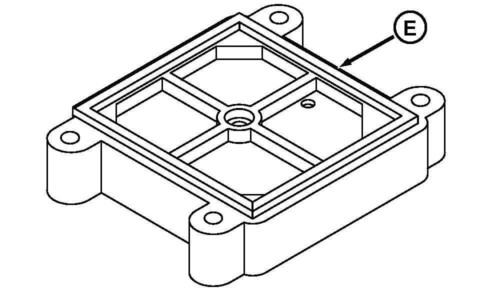
Gasket
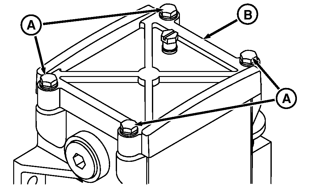
A - Cap Screws
B - Cover
C - Spring Cassette
D - Handle
E - Gasket
NOTE: Drain fuel into an appropriate container and dispose of
properly.
-
Open drain valve and drain fuel from bowl.
-
Remove cap screws (A) and lid (B).
-
Remove spring cassette (C).
-
Lift out filter element by the handle (D).
-
Wash filter in clean diesel fuel or mineral spirits.
-
Inspect filter for damage. If damage, replace with new filter.
-
Install filter element.
-
Install spring cassette.
-
Inspect lid gasket (E) and replace if necessary.
-
Install new filter, spring cassette, lid and four cap screws.
Leave cap screws finger tight.

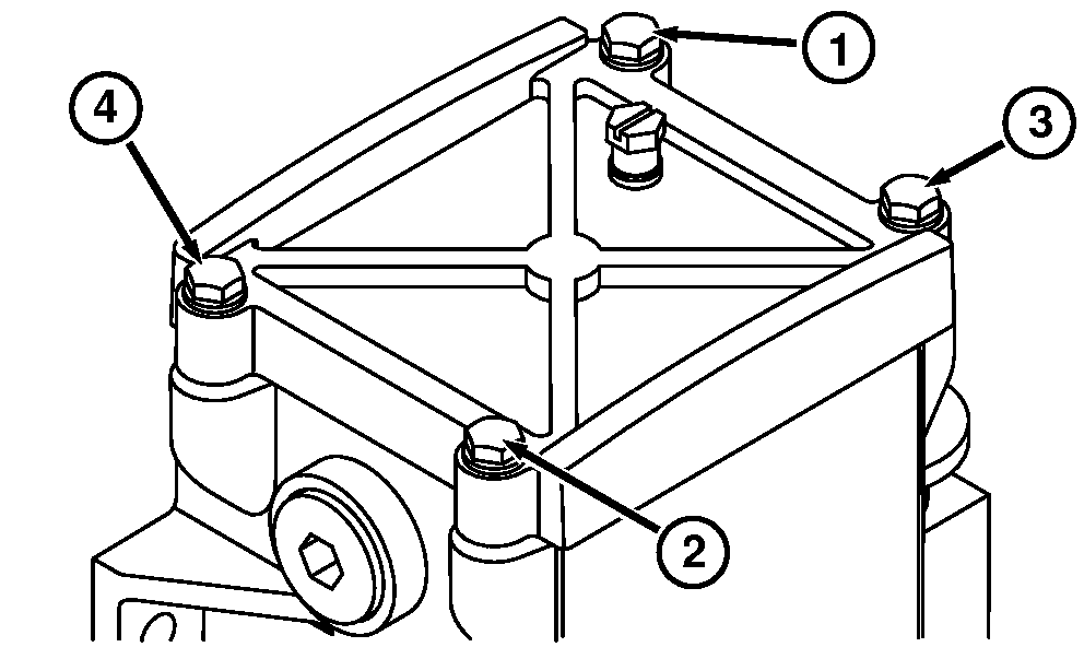
RXA0089820-UN-14JUL06
Install Cap Screws
-
Tighten cap screws in sequence as shown.
-
Prime fuel system and check for leaks.