Connecting Compatible Electronic Equipment

RXA0104285-UN-11AUG09
Front Right Corner Post

RXA0099727-UN-06NOV08
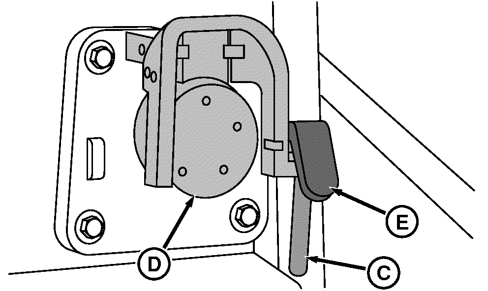
Implement connector on Tractor Rear

RXA0104663-UN-10SEP09
Right-Hand Console ISO 11783 Connector
A - ISO11786 Standard Connector (Corner Post Right)
B - GreenStar Connector (Corner Post Left)
C - Handle
D - Implement Connector (Tractor Rear)
E - Release
F - ISO11783 Standard Connector (Right-Hand Console)
All 8R and 8RT Series Tractors are ISOBUS ready and offer connections
for implements conforming to both ISO 11786 and 11783 standards.
The ISO 11786 connector shown on the right, provides a radar or GPS
speed signal. See Configuring Tractor For GPS/Radar in this section.
GreenStar corner post connector (B) allows any GreenStar display connection.
See your John Deere dealer for compatible adapter harnesses.
IMPORTANT: ISOBUS 11783 Socket (F) on the right-hand console,
is only to be used with ISO11783 compliant components. Other uses
could damage tractor electronic components.
The ISOBUS ready preparation includes the ISO 11783 standardized
connector on the right-hand console and implement connector on the
tractor rear facilitating tractor/implement communications.
|
GreenStar is a trademark of Deere & Company
John Deere is a trademark of Deere & Company
|
OURX935,0000B70-19-20090912
|
|