Mantenerse alejado de los ejes de transmisión en rotación

TS1644-UN-22AUG95

H96219-UN-29APR10
Quedar atrapado en el eje de transmisión en rotación
puede provocar lesiones graves o la muerte.
Mantener la protección principal del tractor y los escudos
de los ejes de transmisión siempre en su lugar. Asegurarse
de que las protecciones giran libremente.
Usar solamente ejes de transmisión de toma de fuerza
con protecciones y escudos adecuados.
Llevar ropa ceñida. Apagar el motor y asegurarse de que
el eje de transmisión de la TDF se haya parado antes de efectuar
ajustes y conexiones, o antes de limpiar el equipo impulsado por la
TDF.
No instalar ningún dispositivo adaptador entre el tractor
y el eje de transmisión de la TDF del accesorio principal que
permita que un eje de tractor de 1000 rpm accione un accesorio de
540 rpm a velocidades superiores a 540 rpm.
No instalar ningún dispositivo adaptador que deje desprotegida
una parte del eje giratorio del accesorio, del eje del tractor o del
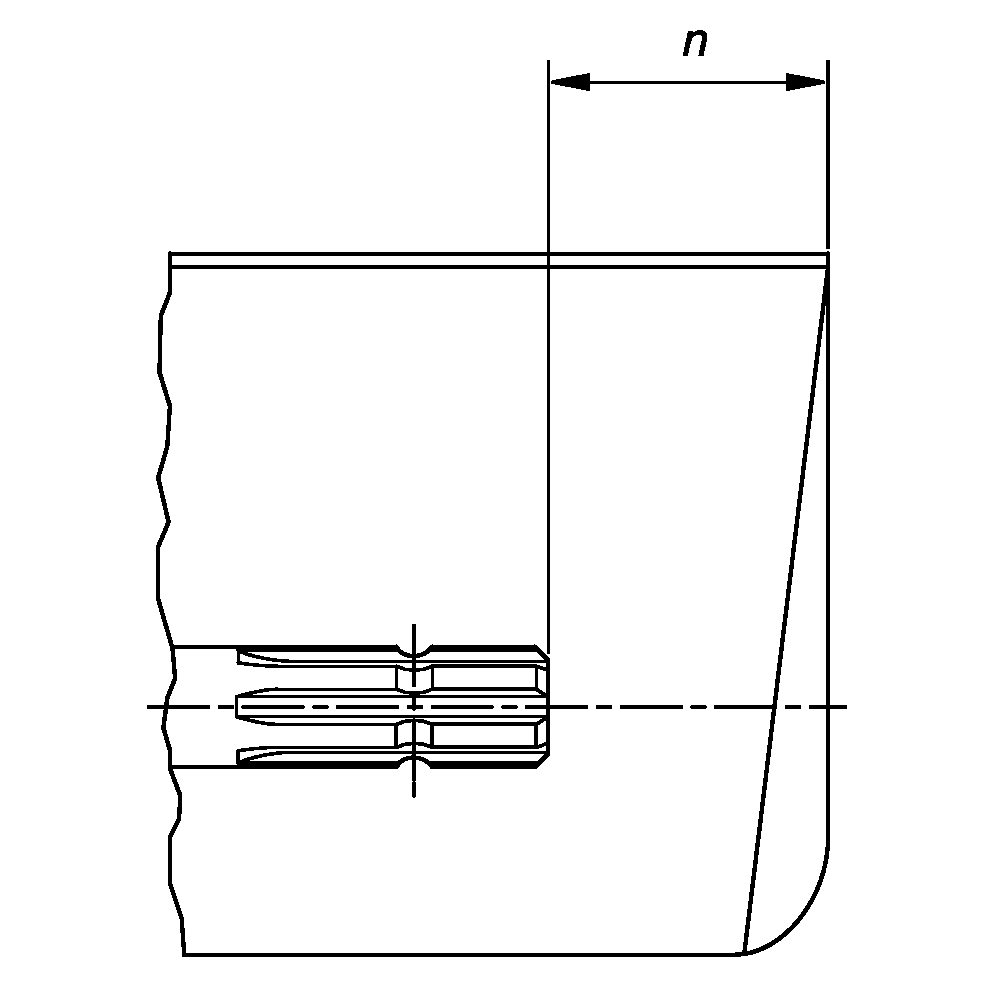
adaptador. La protección principal del tractor puede solapar
el extremo del eje estriado y el adaptador añadido como se
explica en la tabla.
El ángulo de inclinación del eje de transmisión
de la TDF del accesorio principal puede reducirse en función
de la forma y el tamaño de la proteción principal del
tractor y de la forma y el tamaño del escudo del eje de transmisión
de la TDF del accesorio principal.
No elevar los aperos hasta una altura en la que se pudiera dañar
la protección principal del tractor y el escudo del eje de
transmisión de la TDF del accesorio principal. Separar el eje
de transmisión de la TDF si fuera necesario aumentar la altura
del apero. (Ver Acoplamiento/Desconexión del eje de transmisión
de la TDF)
Al usar una TDF del tipo 3/4, la inlcinación y los ángulos
de giro pueden reducirse según el tipo de protección
principal de la TDF y de los rieles de acoplamiento.
|
Tipo de TDF
|
Diámetro
|
Estrías
|
n ± 5 mm (0.20 in.)
|
|
1
|
35 mm (1.378 in.)
|
6
|
85 mm (3.35 in.)
|
|
2
|
35 mm (1.378 in.)
|
21
|
85 mm (3.35 in.)
|
|
3
|
45 mm (1.772 in.)
|
20
|
100 mm (4.00 in.)
|
|
4
|
57.5 mm (2.264 in.)
|
22
|
100 mm (4.00 in.)
|
|