Mantenimiento y conexión del seguro para conectar racores STC®

RXA0080095-UN-31MAR05
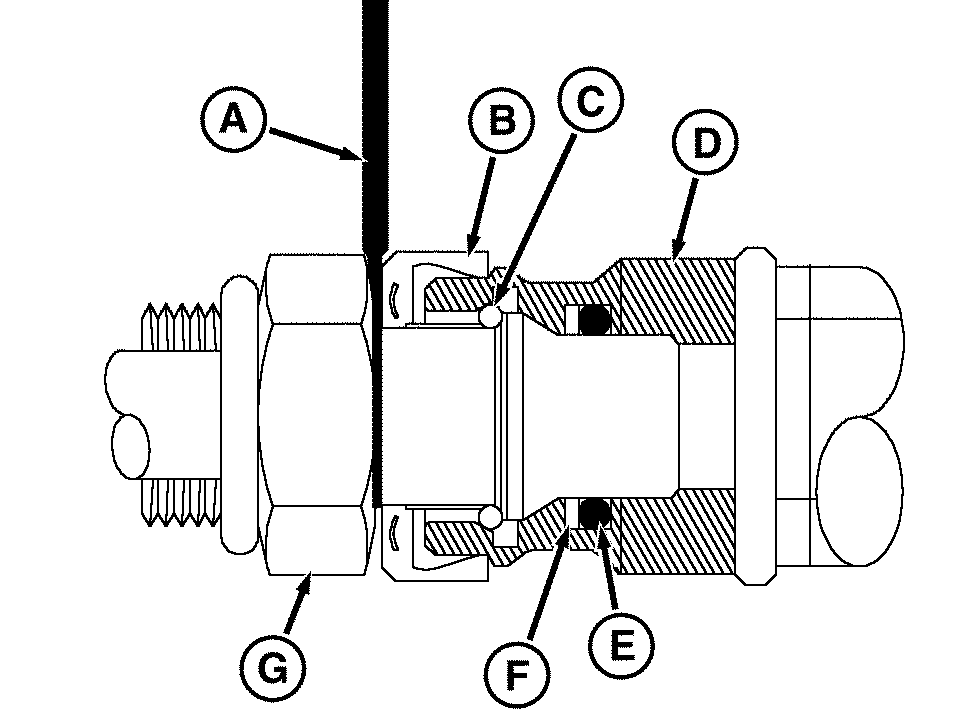
A - Herramienta JDG1885 STC
B - Anillo de liberación
C - Anillo de retención
D - Extremo hembra (racor de enganche)
E - Anillo tórico
F - Anillo de refuerzo
G - Extremo macho (racor de enganche)
ATENCIÓN: No desconecte el racor de enganche si está bajo
presión. Si olvida aliviar la presión antes de desconectar
el racor, es posible que sufra lesiones personales o cause daños
al equipo.
-
NOTA: Los racores a presión se usan en tuberías
de acero y conexiones de mangueras, disponiéndose de varios
tamaños. La herramienta JDG1885 STC (A) ha sido diseñada
como distanciador para mover el anillo de liberación (B) hacia
dentro, lo que hace que se suelte el anillo de retención (C).
La herramienta JDG1885 STC podrá adquirirla en su concesionario
John Deere.
IMPORTANTE: No use herramientas para separar los racores haciendo
palanca. Si se hace palanca con una herramienta, puede dañarse
el racor o la herramienta.
Inserte la herramienta correcta STC entre el anillo de liberación
y el racor.
-
Retire la manguera o la tubería del conector.
NOTA: Si el anillo de retención (C), el de empuje (F)
o el anillo tórico (E) están dañados, pida el
kit de recambio a su concesionario John Deere y cambie estos tres
elementos.
Antes de conectar el seguro de conexión
de racores:
-
Compruebe si hay mellas, arañazos o manchas en las superficies
de contacto.
-
Compruebe si hay daños o desgaste en el anillo tórico,
el anillo de empuje y el anillo de retención.
-
Asegúrese de que el extremo hembra (D) y el extremo macho
(G) estén limpios y libres de contaminantes.
-
Asegúrese de que el anillo de liberación (B) esté
en el racor de extremo macho.
-
Empujar las mitades del adaptador una contra la otra hasta que
se escuche un chasquido y se sienta un tope firme.
-
Tire hacia atrás de la manguera para comprobar que las
dos mitades del racor estén bien unidas la una a la otra.
|
STC es una marca registrada
de Aeroquip Corporation
|
OURX935,000030B-63-20080612
|
|