-
Para algunas aplicaciones de filas y anchos de vía estrechos,
el enganche tiene que convertirse a la categoría 3N. El enchufe
rápido puede convertirse a categoría 3 o categoría
3N. Usar la categoría 3 siempre que sea posible, especialmente
para cargas pesadas.

RXA0085783-UN-10JAN06
Distanciador y amortiguador
A - Distanciador
B - Amortiguador
Instalar el espaciador (A) en la parte exterior de la barra
de tiro para la categoría 3N.
IMPORTANTE: Si se convierte el enganche a la categoría
3N, el distanciador (A) del bloque estabilizador deberá montarse
en la parte exterior de la barra de tiro para evitar dañar
el equipo.
-
Ajustar el amortiguador (B) para minimizar el espacio libre.
-
Apretar firmemente la tuerca.
-

RXA0098644-UN-28JUL08
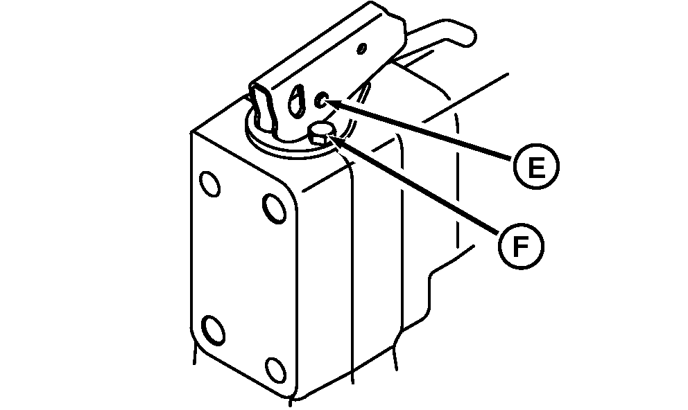
Acoplador rápido

RXA0085782-UN-10JAN06
Acoplador rápido
A - Tornillos de retención
B - Tornillos
C - Miembro izquierdo
D - Miembro derecho
E - Presilla en C y pasador
F - Tornillo
Sostener la parte central del enchufe rápido. Saque
los tornillos retenedores (A) y los bulones de la barra de tiro. Saque
los tornillos (B) del miembro lateral.
-
Intercambiar los miembros laterales del enchufe rápido.
Poner el miembro izquierdo (C) en el extremo derecho y el miembro
derecho (D) en el izquierdo. Apretar los tornillos a 320±64
Nm.
-
Desconectar las palancas de bloqueo sacando la presilla en C
y el pasador (E).
-
Sacar el tornillo (F) de la placa de desgaste y darle la vuelta
de modo que la pestaña quede hacia el interior.
-
Instalar los tornillos y apretarlos firmemente.
-
Volver a conectar las palancas.