Ajustes de ruedas traseras triples para cultivos en hileras
|
Funcionamiento normal con enganche entre hileras de cosecha
|
|
Sección de neumático – mm
|
320
|
380
|
480
|
|
Sep. hileras - cm (in.)
|
50,80 (20)
|
55,88 (22)
|
76,20 (30)
|
|
Rueda motriz (in.)
|
80
|
88
|
60
|
|
Ruedas dobles - in.
|
120
|
132
|
120
|
|
Extensión doble (eje de 118.5 in.)
|
Arandela de 7,5 mm
|
Nada
|
Nada
|
|
Ruedas triples - in.
|
160
|
176
|
180
|
|
Extensión triple (eje de 118.5 in.)
|
15 in.
|
15 in. más arandela de 6,4 mm
|
15 in. y 10 in. más arandela de 7,5 mm
|
|
Funcionamiento descentrado con enganche sobre hileras de cosecha
|
|
Sección de neumático – mm
|
320
|
380
|
|
|
Sep. hileras - cm (in.)
|
50,80 (20)
|
55,88 (22)
|
|
|
Rueda motriz (in.)
|
80
|
88
|
|
|
Ruedas dobles - in.
|
120
|
132
|
|
|
Extensión doble (eje de 118.5 in.)
|
Arandela de 7,5 mm
|
Nada
|
|
|
Ruedas triples - in.
|
160
|
176
|
|
|
Extensión triple (eje de 118.5 in.)
|
15 in.
|
15 in. más arandela de 6,4 mm
|
|

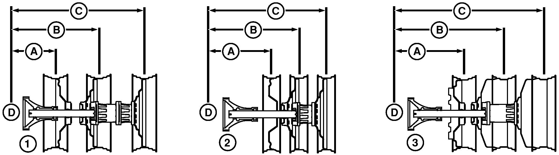
RXA0085830-UN-11JAN06
Ancho de vía con neumáticos traseros
triples de 480 mm
A - Sencillos
B - Duales
C - Ruedas triples
D - Línea central del tractor
1 - Neumáticos traseros de 480 mm
2 - Neumáticos traseros de 380 mm
3 - Neumáticos traseros de 320 mm
|
Funcionamiento normal
|
Sencillos
|
Duales
|
Ruedas triples
|
|
Neumáticos traseros de 480 mm (1)
|
| |
A
|
B
|
C
|
| |
1524 mm (60 in.)
|
3048 mm (120 in.)
|
4572 mm (180 in.)
|
|
Tamaño de neumático
|
Posición de la llanta
|
Posición de la llanta
|
Posición de la llanta
|
|
480/80R50
|
Adentro
|
Afuera
|
Afuera
|
|
480/80R46
|
Adentro
|
Afuera
|
Afuera
|
|
18.4R46
|
Adentro
|
Afuera
|
Afuera
|
| |
|
Neumáticos traseros 380/90R50 (2)
|
|
Funcionamiento normal
|
Sencillos
|
Duales
|
Ruedas triples
|
| |
A
|
B
|
C
|
|
Funcionamiento normal
|
2235 mm (88 in.)
|
3352 mm (132 in.)
|
4470 mm (176 in.)
|
|
Funcionamiento del corrimiento
|
1676 mm (66 in.)
|
2794 mm (110 in.)
|
3912 mm (154 in.)
|
|
Neumático
|
Posición de la llanta
|
Posición de la llanta
|
Posición de la llanta
|
|
Funcionamiento normal
|
Afuera
|
Afuera
|
Afuera
|
|
Funcionamiento del corrimiento
|
Adentro
|
Posición L1
|
Afuera
|
|
Neumáticos traseros 320/90R54 (3)
|
|
Funcionamiento normal
|
Sencillos
|
Duales
|
Ruedas triples
|
| |
A
|
B
|
C
|
|
Funcionamiento normal
|
2032 mm (80 in.)
|
3048 mm (120 in.)
|
4064 mm (160 in.)
|
|
Funcionamiento del corrimiento
|
1524 mm (60 in.)
|
2540 mm (100 in.)
|
3556 mm (140 in.)
|
|
Neumático
|
Posición de la llanta
|
Posición de la llanta
|
Posición de la llanta
|
|
Funcionamiento normal
|
Afuera
|
Posición P1
|
Posición O1
|
|
Funcionamiento del corrimiento
|
Adentro
|
Posición L1
|
Posición P1
|
|
1 Ajustes
de ruedas de dieciséis posiciones.
|
OURX935,00003DE-63-20100108
|
|